In risposta al messaggio di MaxRoss del 28/02/2022 alle 11:42:30Devi prendere quelli del daily a doppio pistone, quelli normali ad un singolo pistone sono troppo alti, con la ruota a terra non passano sotto il telaio
Buongiorno amici camperisti. Desidero viaggiare con una gomma di scorta , al posto del kit convenzionale. Allo scopo, mi accingo ad acquistare un martinetto a bottiglia . E qui vi chiedo qualche consiglio : marca, portata, costo indicativo ? Inoltre mi consigliate anche un paio di cavalletti da usare in fase di cambio gomma ? o sono superflui . Grazie sin d'ora per le risposte che vorrete darmi. E buon viaggio a tutti. Massimo
In risposta al messaggio di impiegatodelvolante del 28/02/2022 alle 11:47:29Si perchè con quelli a pantografo in dotazione anche a meccaniche piuttosto recenti non sollevi nà beata cippa.
Devi prendere quelli del daily a doppio pistone, quelli normali ad un singolo pistone sono troppo alti, con la ruota a terra non passano sotto il telaio Altrimenti prendi quello originale del veicolo che sicuramente è perfetto per svolgere il suo lavoro
https://www.amazon.it/dp/B07BBZ...
In risposta al messaggio di greenpeace del 28/02/2022 alle 16:38:22mah, io il ducato l'o sempre sollevato con il suo cric in dotazione senza nessun problema
Si perchè con quelli a pantografo in dotazione anche a meccaniche piuttosto recenti non sollevi nà beata cippa. Provare per credere. Come sicurezza uso sempre questi cavalletti fissi non rinchiudibili emc_b_5_i
In risposta al messaggio di MaxRoss del 28/02/2022 alle 11:42:30Servirebbe una info, che mezzo è? O perlomeno ha il Telaio ALKO o telaio originale?
Buongiorno amici camperisti. Desidero viaggiare con una gomma di scorta , al posto del kit convenzionale. Allo scopo, mi accingo ad acquistare un martinetto a bottiglia . E qui vi chiedo qualche consiglio : marca, portata, costo indicativo ? Inoltre mi consigliate anche un paio di cavalletti da usare in fase di cambio gomma ? o sono superflui . Grazie sin d'ora per le risposte che vorrete darmi. E buon viaggio a tutti. Massimo

13035B000
www.iz4dji.it
In risposta al messaggio di MaxRoss del 28/02/2022 alle 11:42:30Non ti so consigliare un modello ma ti consiglio di prenderlo di qualità più che ottima, e parlo per esperienza personale: mi si è spezzata l'asta di sollevamento del cric a bottiglia mentre alzavo il camper, mancavano pochi cm ad averlo ad altezza perfetta, la ruota (esplosa) sono riuscito a tirarla fuori facilmente, il problema è stato rimettere in sede la ruota di scorta perchè ovviamente non c'era spazio in altezza sufficiente, ma alla fine a forza di calci e imprecazioni ce l'ho fatta. Ah giusto, altro problema è stato togliere il cric visto che senza l'asta non lo potevo abbassare, fortuna che la mia dolce metà aveva posizionato un cuneo sulla ruota opposta (ant. SX) così è bastato togliere il freno a mano per far esplodere il cric e toglierlo. Insomma un bel casino, prendine uno buono buono
Buongiorno amici camperisti. Desidero viaggiare con una gomma di scorta , al posto del kit convenzionale. Allo scopo, mi accingo ad acquistare un martinetto a bottiglia . E qui vi chiedo qualche consiglio : marca, portata, costo indicativo ? Inoltre mi consigliate anche un paio di cavalletti da usare in fase di cambio gomma ? o sono superflui . Grazie sin d'ora per le risposte che vorrete darmi. E buon viaggio a tutti. Massimo
In risposta al messaggio di IZ4DJI del 28/02/2022 alle 23:02:19effettivamente il mio ha il telaio ALKO e con il cric a pantografo, come scritto, non ce la faceva
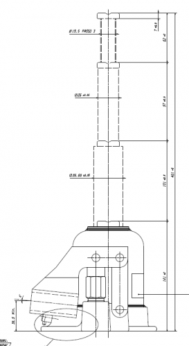
Servirebbe una info, che mezzo è? O perlomeno ha il Telaio ALKO o telaio originale? Lo chiedo perchè con telaio originale non ci sono problemi perchè è alto, mentre con telaio ALKO, con gomma a terra rimangono circa14cm tra il longherone del telaio e il terreno e quindi serve un cric che da chiuso abbia quella altezza. Il cric a pamntografo del Ducato ci passa, ma dovrebbe incominciare a spimngere talmente chiuso che non ce la fa proprio. L unica è il cric del Daily che da chiuso è 14cm. Se invece hai il Ducato con il telaio normale io userei il cric a pantografo di serie che per me alla fine è piu comodo e sicuro. Colonnette, potrebbero servire, ma come la mettiamo con il peso? Secondo me si è costretti a farne a meno, tieni la ruota pronta , sfili una e infili immediatamente l altra, vuoi proprio che cada in quei due secondi? Piuttosto mettere un cuneo nella ruota opposta dell altro assale, per evitare movimenti e tirare meglio possibile il freno a mano e mettere la marcia, ma penso che non serva dirlo. Qui le dimensioni: se vuoi vederle meglio, puoi richiedere qui il PDF il modello è il 13035B000 Lo avevo quando avevo il Ducato ALKO, poi lo ho dato a un amico quando ho preso lo Sprinter 4x4 che richiede un martinetto specifico altissimo. Quello del Daily è quello rosso a destra:
https://www.amazon.it/SEALEY-Ch...
ma una certezza.
In risposta al messaggio di impiegatodelvolante del 28/02/2022 alle 17:23:48Infatti, Se è un camper su Ducato si solleva, senza alcuna difficoltà, con il cric a pantografo in dotazione.
mah, io il ducato l'o sempre sollevato con il suo cric in dotazione senza nessun problema
.jpg)
In risposta al messaggio di Paolo62 del 01/03/2022 alle 11:59:56Si, Su Ducato ma senza telaio ALKO
Infatti, Se è un camper su Ducato si solleva, senza alcuna difficoltà, con il cric a pantografo in dotazione.
www.iz4dji.it
www.iz4dji.it
In risposta al messaggio di IZ4DJI del 02/03/2022 alle 12:04:08Tommy, ho cambiato le gomme estate/inverno, per 11 anni su un mezzo con telaio Alko, gomme e cerchi da 15", utilizzando il crick a pantografo FIAT. Mai avuto problemi.
Ciao Massimo, forse l ora tarda a cui hai scritto, ma hai fatto un po di confusione, e la moderazione ha chiuso il doppione del topic dove scrivevi: Scusate se ho dato per scontato che parlavo del mio Laika Kreos 3009su Fiat Ducato 2.3 da 35 ql . Vi ringrazio per le tante risposte che mi sono giunte . Fra tutte , mi sembra di capire che il crick a pantografo in dotazione sia piu' che affidabile e sufficiente in caso di cambio gomma. Grazie ancora e buoni km . Massimo Però, voglio risponderti, in maniera che si tolga ogni dubbio. Se il tuo Kreos 2009 Ducato con telaio FIAT va piu che bene il cric a pantografo in dotazione e quindi terrei quello che è la scelta migliore Se invece il Kreos 2009 avesse Telaio ALKO (e non lo so perchè non conosco i Laika), il cric a pantografo in dotazione solleva senza problemi solo all anteriore, ma al posteriore, per come è fatto il telaio, non ce la fa e solo in questo caso serve il cric del Daily.
In risposta al messaggio di Clint del 02/03/2022 alle 12:17:45Con le gomme gonfie …..
Tommy, ho cambiato le gomme estate/inverno, per 11 anni su un mezzo con telaio Alko, gomme e cerchi da 15, utilizzando il crick a pantografo FIAT. Mai avuto problemi.
In risposta al messaggio di Paolo62 del 02/03/2022 alle 14:03:22Certo
Con le gomme gonfie …..
.png)
In risposta al messaggio di franco49tn del 02/03/2022 alle 16:16:24ottimo consiglio
Quando il preumatico è forato e il cricco non passa L'unico sistema è quello di salire su un CUNEO che abbiamo in garage, Una volta che si è riportata alla misura normale il cricco passa e solleva il mezzo .
In risposta al messaggio di Clint del 02/03/2022 alle 14:06:25Si, con la gomma gonfia ci riesce, perchè ha una altezza dove il pantografo quando inizia a spingere è gia abbastanza aperto. Però con gomma a terra, che porta via penso altri 10-12cm almeno, il cric a pantografo si inserisce, ma dovrebbe iniziare a spingere che è tutto basso e in quella posizione non riesce a fare forza, tutta questione di angoli e di leve.
Certo
www.iz4dji.it
In risposta al messaggio di franco49tn del 02/03/2022 alle 16:16:24Giusto, ottimo suggerimento, in emergenza puo essere la soluzione.
Quando il preumatico è forato e il cricco non passa L'unico sistema è quello di salire su un CUNEO che abbiamo in garage, Una volta che si è riportata alla misura normale il cricco passa e solleva il mezzo .
www.iz4dji.it
In risposta al messaggio di franco49tn del 02/03/2022 alle 16:16:24Giusto, ottimo suggerimento, in emergenza puo essere la soluzione.
Quando il preumatico è forato e il cricco non passa L'unico sistema è quello di salire su un CUNEO che abbiamo in garage, Una volta che si è riportata alla misura normale il cricco passa e solleva il mezzo .
www.iz4dji.it