CamperOnLine
  • Camper
    • Camper usati
    • Camper nuovi
    • Produttori
    • Listino
    • Cataloghi
    • Concessionari e rete vendita
    • Noleggio
    • Van
    • Caravan
    • Fiere
    • Rimessaggi
    • Le prove di CamperOnLine
    • Provati da voi
    • Primo acquisto
    • Area professionisti
  • Accessori
    • Accessori e Prodotti
    • Camping Sport Magenta accessori
    • Produttori
    • Antenne TV
    • Ammortizzatori
    • GPS
    • Pneumatici
    • Rimorchi
    • Provati da Voi
    • Fai da te
  • Viaggi
    • Diari di viaggi in camper
    • Eventi
    • Foto
    • Check list
    • Traghetti
    • Trasporti
  • Sosta
    • Cerca Strutture
    • Sosta
    • Aree sosta camper
    • Campeggi
    • Agriturismi con sosta camper
    • App Camperonline App
    • 10 Consigli utili per la sosta
    • Area strutture
  • Forum
    • Tutti i Forum
    • Sosta
    • Gruppi
    • Compagni
    • Italia
    • Estero
    • Marchi
    • Meccanica
    • Cellula
    • Accessori
    • Eventi
    • Leggi
    • Comportamenti
    • Disabili
    • In camper per
    • Altro Camper
    • Altro
    • Extra
    • FAQ
    • Regolamento
    • Attivi
    • Preferiti
    • Cerca
  • Community
    • COL
    • CamperOnFest
    • Convenzioni Convenzioni
    • Amici
    • Furti
    • Informativa Privacy
    • Lavoro
  • COL
    • News
    • Newsletter
    • Pubblicità
    • Contatto
    • Ora
    • RSS RSS
    • Video
    • Facebook
    • Instagram
  • Magazine
  • Italiano
    • Bienvenue
    • Welcome
    • Willkommen
  • Accedi
CamperOnLine
Camping Sport Magenta
  1. Forum
  2. Tecnica
  3. Accessori
Galleria

Modalità di settaggio e avviamento Thermotop C

Rispondi
Cerca
Berger Camping
SostaGruppiCompagniItaliaEsteroMarchiMeccanicaCellulaAccessoriEventiLeggiComportamentiDisabiliIn camper perAltro CamperAltroExtra
1 20 56
6
pelletkw
pelletkw
19/08/2019 31
Rispondi Abuso
Inserito il 21/09/2022 alle: 17:41:01
Buongiorno a tutti,
Dopo un bel danno al motore subito durante l'ultima vacanza (Ducato X250), ho deciso di installare (per salvaguardare il nuovo blocco) il thermotop C come preriscaldatore in climi freddi, dove spesso mi trovo.
Ho deciso di acquistare qualcosa di usato e recuperato da precedenti installazioni.
Prima accortezza, mi sono assicurato che il riscaldatore in essere sia in versione "analogica" e che non sia derivante da versioni can-bus, che a quanto ho capito potrebbe dare problemi di partenza.

PRIMO QUESTITO: Il venditore me lo fornisce con un semplice interruttore on-off, cosa che non mi piace molto in quanto non mi pare che il thermotop abbia dei limitatori al suo interno, ciò vuol dire che se per sbaglio lo premo o mi dimentico di spegnerlo questo va avanti a lavorare a oltranza, corretto?

SECONDO QUESITO: Vorrei installarlo con il relativo accenditore con timer integrato webasto, non è mio interesse eseguire delle programmazioni, ma sarebbe sufficente accenderlo e dargli un tempo limite per cui stare acceso, ad es. 30 minuti e che poi esegua lo spegnimento in autonomia. In rete ho trovato i seguenti controller 1530, 1533 e multicontrol. Quale fa al caso mio?

TERZO QUESITO: Il venditore mi dice che se voglio uno qualsiasi dei controller webasto deve fornirmi anche il relativo cablaggio al costo di oltre 100€, vi allego un link giusto x capire di cosa si tratta:

https://www.need4street.de/Cabl...

Girando sul forum mi è parso di capire che è possibile bypassare questo acquisto usando comunque uno dei controller sopra citati, mi guidate sul collegamento?

QUARTO QUESITO: Vorrei ovviamente avere la possibilità di far partire in automatico le ventole della cabina per portare un minimo di calore all'interno dell'abitacolo, anche questa gesione la vorrei completamente automatica, ovvero a thermo top acceso, solo al raggiungimento di tale temperatura partiranno le ventole a una data potenza e si spegneranno allo spegnimento del riscaldatore.

Grazie a chiunque risponderà

Modificato da pelletkw il 21/09/2022 alle 17:41:24
20
Emme48
Emme48
rating

13/01/2006 24512
Rispondi Abuso
Inserito il 22/09/2022 alle: 03:47:45
In risposta al messaggio di pelletkw del 21/09/2022 alle 17:41:01

Buongiorno a tutti, Dopo un bel danno al motore subito durante l'ultima vacanza (Ducato X250), ho deciso di installare (per salvaguardare il nuovo blocco) il thermotop C come preriscaldatore in climi freddi, dove spesso
mi trovo. Ho deciso di acquistare qualcosa di usato e recuperato da precedenti installazioni. Prima accortezza, mi sono assicurato che il riscaldatore in essere sia in versione analogica e che non sia derivante da versioni can-bus, che a quanto ho capito potrebbe dare problemi di partenza. PRIMO QUESTITO: Il venditore me lo fornisce con un semplice interruttore on-off, cosa che non mi piace molto in quanto non mi pare che il thermotop abbia dei limitatori al suo interno, ciò vuol dire che se per sbaglio lo premo o mi dimentico di spegnerlo questo va avanti a lavorare a oltranza, corretto? SECONDO QUESITO: Vorrei installarlo con il relativo accenditore con timer integrato webasto, non è mio interesse eseguire delle programmazioni, ma sarebbe sufficente accenderlo e dargli un tempo limite per cui stare acceso, ad es. 30 minuti e che poi esegua lo spegnimento in autonomia. In rete ho trovato i seguenti controller 1530, 1533 e multicontrol. Quale fa al caso mio? TERZO QUESITO: Il venditore mi dice che se voglio uno qualsiasi dei controller webasto deve fornirmi anche il relativo cablaggio al costo di oltre 100€, vi allego un link giusto x capire di cosa si tratta: ... Girando sul forum mi è parso di capire che è possibile bypassare questo acquisto usando comunque uno dei controller sopra citati, mi guidate sul collegamento? QUARTO QUESITO: Vorrei ovviamente avere la possibilità di far partire in automatico le ventole della cabina per portare un minimo di calore all'interno dell'abitacolo, anche questa gesione la vorrei completamente automatica, ovvero a thermo top acceso, solo al raggiungimento di tale temperatura partiranno le ventole a una data potenza e si spegneranno allo spegnimento del riscaldatore. Grazie a chiunque risponderà
...
Il "guru" indiscusso su questo argomento è Enzo44 che mi ha dato utili informazioni per installare il mio ThermoTop C, ecco come ho fatto:

1 Collegamento dei tubi del TT in parallelo al radiatore del riscaldamento in cabina guida in modo da sfruttare lo stesso vaso di espansione della meccanica.

2 La parte elettrica è composta da quattro filii, uno grosso per l'elettronica e la candeletta di accensione (fusibile da 20A), uno per avviare il TT (fusibile 4A), uno della pompa dell'acqua (fusibile 4A) e uno che va direttamente alla pompa a impulsi del gasolio

N.B. Un TT (Thermo Top C) è progettato per scaldare l'acqua del motore limitandosi a 70 gradi, fa tutto lui in automatico, ma se si toglie alimentazione ad un qualsiasi riscaldatore a gasolio lanciato alla massima potenza, ci sono buone probabilità di avere un guasto irreversibile.

3 Collegamento del filo grosso direttamente alla BS tramite fusibile da 20A, senza interruttore.

4 Collegamento del filo della pompa e dell'avviamento, collegati insieme, alla BS attraverso la centralina per proteggere la batteria da sottotesione, con fusibile da 4A trmite un interruttore a tre posizioni: acceso / spento / timer meccanico recuperato da un tostapane guasto, impostabile da 0 a 45 minuti, quando stacca suona pue un campanellino.

5 La ventola della cabina guida puoi alimentarla come ho intenzione di fare io, fornendogli energia tramite due grossi diodi che nel mio caso saranno da 70A perchè ne ho tanti; uno preleva energia dall'impianto originale BM, uno preleva corrente dalla BS tramite un circuito varialuce che comprerò su ebay, adatto per impostare una bassa velocità / consumo / rumore, in serie ad un banale termostato meccanico, come quelli in uso negli appartamenti, protetto da fusibile da calcolare misurando con un amperometro l'assorbimento a velocità ridotta, 
L'interruttore a tre posizioni con timer alimenterà sia questo fusibile che quello da 4A a protezione della pompa e dell'avvio del TT, il termostato meccanico lo prenderò di quelli che hanno la posizione off.

La mia... pignoleria mi ha fatto mettere uno strano circuito che collega la pompa dell'acqua al filo di accensione, togliendo tensione al filo di avvio, parte il ciclo di spegnimento del TT che dura oltre un minuto, è per questo il filo grosso va collegato alla BS, per ulteriori 80 secondi dall'inizio del ciclo di spegnimento, tengo la pompa dell'acqua ancora in funzzione... 

Marco.
Marco

http://www.m48.it


Modificato da Emme48 il 22/09/2022 alle 04:30:55
6
pelletkw
pelletkw
19/08/2019 31
Rispondi Abuso
Inserito il 22/09/2022 alle: 11:52:54
Grazie Marco per il tuo intervento, attendiamo come dici tu anche i pareri del Guru.
Intanto ti posto lo schema di collegamento idraulico che sono intenzionato a fare:
Collegamento%20idraulico%20Thermotop.png
Installazione classica a monte del radiatore cabina, per separare l'impianto in caso di guasto al TT, volevo predisporre 2 valvole a sfera a passaggio massimo (in modo da non creare restizioni e turbolenze), cosi da poterle chiudere ed eventualmente smontare il TT senza perdere troppo liquido di raffreddamento motore.
L'idea della valvola di ritegno posta nel bypass l'ho pensata per evitare che, durante il funzionamento del webasto a motore fermo, la stessa pompa ricircoli direttamente l'acqua calda prodotta, senza cosi passare dal motore e mandando il TT in blocco.
Cosi facendo, a motore il moto e TT fermo, il passaggio di acqua di raffreddamento motore dovrebbe evitare tutto il giro del TT ma "preferire" il passaggio più diretto, attraverso la valvola di non ritorno.
La dimensione delle valvole l'avevo stimata da 1/2".
Il diametro interno dei tubi di raffreddamento è Ø19?
Dite che il posizionamento della valvola di NR possa inficiare o rallentare la circolazione del liquido a motore in moto?

Modificato da pelletkw il 22/09/2022 alle 11:53:23
20
Emme48
Emme48
rating

13/01/2006 24512
Rispondi Abuso
Inserito il 22/09/2022 alle: 12:03:02
In risposta al messaggio di pelletkw del 22/09/2022 alle 11:52:54

Grazie Marco per il tuo intervento, attendiamo come dici tu anche i pareri del Guru. Intanto ti posto lo schema di collegamento idraulico che sono intenzionato a fare: Installazione classica a monte del radiatore cabina,
per separare l'impianto in caso di guasto al TT, volevo predisporre 2 valvole a sfera a passaggio massimo (in modo da non creare restizioni e turbolenze), cosi da poterle chiudere ed eventualmente smontare il TT senza perdere troppo liquido di raffreddamento motore. L'idea della valvola di ritegno posta nel bypass l'ho pensata per evitare che, durante il funzionamento del webasto a motore fermo, la stessa pompa ricircoli direttamente l'acqua calda prodotta, senza cosi passare dal motore e mandando il TT in blocco. Cosi facendo, a motore il moto e TT fermo, il passaggio di acqua di raffreddamento motore dovrebbe evitare tutto il giro del TT ma preferire il passaggio più diretto, attraverso la valvola di non ritorno. La dimensione delle valvole l'avevo stimata da 1/2. Il diametro interno dei tubi di raffreddamento è Ø19? Dite che il posizionamento della valvola di NR possa inficiare o rallentare la circolazione del liquido a motore in moto?
...
Tre problemi.
- I rubinetti richiederanno manutenzione.
- La valvola di non ritorno richiederà manutenzione.
- Se chiudi entrambi i rubinetti e accendi il TT va in sovrapressione.

La manutenzione si fa anche sfilando i tubi e tappandoli con qualcosa e poi una fascetta.

Sui due tubi che escono dal ThermoTop e che vanno al radiatore, ho messo una sonda che mi tiene sotto controllo quella temperatura, con l'acqua del motore a 85 gradi non ho mai visto più di 65 gradi in quel punto...

Eventualmente puoi mettere una elettrovalvola sull'uscita del ThermoTop, ma è un consumo elettrico quando lo usi in sosta libera e se si guasta l'acqua non circola e il TT va in sovratemperatura.

Se non metti nulla, il ThermoTop va semplicemente in parallelo al riscaldamento della cellula, se vuoi chiuderlo puoi metterlo in serie al radiatore in modo da sfruttare il comando inverno/estate della meccanica.

Marco.
Marco

http://www.m48.it

6
pelletkw
pelletkw
19/08/2019 31
Rispondi Abuso
Inserito il 22/09/2022 alle: 12:22:34
Premettendo che qualsiasi organo aggiuntivo ad un impianto è forzatamente oggetto di manutenzione/controllo, preferisco avere un organo in più come una valvola a sfera piuttosto che una 3 vie motorizzata, non tanto per il consumo quanto per il pensiero di eventuali guasti come dicevi tu.
Adesso me le tiro ma una valvola a sfera è praticamente eterna.wink
Detto questo ho rettificato lo schema come da te suggerito, inserendo il comando guidato dal selettore aria calda in cabina.
Collegamento%20idraulico%20TT.png
Premettto che il TT lo userei unicamente da fermo, non in marcia e che le valvole di intercetto sarebbere sempre aperte.
Prendendo in considerazione il motore in uso d'estate, con ghiera tutta su raffreddamento, l'acqua del motore circolerebbe evitando TT e radiatore cabina e fin qui tutto normale.
Con la guida invernale, con ghiera tutta su riscaldamento, parte dell'acqua transiterebbe, oltre al radiatore cabina, anche nei circuiti del TT. L'idea del bypass con valvola NR è nata pensando che altrimenti l'acqua motore deve circolare attraverso tutto il corpo pompa fermo del TT, creando magari resistenze o portate inferiori al normale.
Con bypass e valvola NR evito che l'acqua circoli all'interno del TT fermo, preferendo la via di bypass con valvola NR in direzione del flusso motore.
Mi sto facendo dei probelmi per nulla?

Modificato da pelletkw il 22/09/2022 alle 12:23:28
Sala Silvergruva, la miniera d'argento
Sala Silvergruva, la miniera d'argento
Folgaria d’inverno in camper
Folgaria d’inverno in camper
Francia 2025
Francia 2025
Eksjo, la città di legno
Eksjo, la città di legno
Viaggio in Umbria e dintorni
Viaggio in Umbria e dintorni
Previous Next
16
enzo44
enzo44
rating

13/12/2009 4433
Rispondi Abuso
Inserito il 25/09/2022 alle: 00:07:10
Ciao, sul mio mezzo ho montato il Thermotop in parallelo al radiatore del riscaldamento cabina, con il selettore aria calda/fredda decidi se riscaldare o meno il motore, questa configurazione ti consentirà l'ampliamento dell'impianto per scaldare la cellula in modo corretto risparmiando gasolio, ampliamento questo che ti consiglierei di fare per evitare continui on/off al riscaldatore che, come sai, sono la causa pricipale del consumo elettrico e di mancati avvii. Un saluto Enzo
Enzo
6
pelletkw
pelletkw
19/08/2019 31
Rispondi Abuso
Inserito il 25/09/2022 alle: 11:53:45
In risposta al messaggio di enzo44 del 25/09/2022 alle 00:07:10

Ciao, sul mio mezzo ho montato il Thermotop in parallelo al radiatore del riscaldamento cabina, con il selettore aria calda/fredda decidi se riscaldare o meno il motore, questa configurazione ti consentirà l'ampliamento
dell'impianto per scaldare la cellula in modo corretto risparmiando gasolio, ampliamento questo che ti consiglierei di fare per evitare continui on/off al riscaldatore che, come sai, sono la causa pricipale del consumo elettrico e di mancati avvii. Un saluto Enzo
...
Ciao Enzo, grazie per il tuo intervento, non nascondo che ci speravowink
Veniamo a noi, ho bisogno di comprendere a pieno la struttura di raffreddamento del mezzo x la migliore installazione possibile anche alla luce di ampliamenti come suggerisci tu.

Nell'ultimo disegno che ho inserito una sorta di 3 vie comandata dalla ghiera del riscaldamento cabina che da o meno il consenso al passaggio attraverso il radiatore.
La posizione mi sembra corretta tra motore e radiatore. Sbaglio qualcosa?

Il tuo suggerimento sarebbe quello di mettere 2 T nei tubi che entrano al radiatore cabina, in modo di essere a valle del comando riscaldamento.
16
enzo44
enzo44
rating

13/12/2009 4433
Rispondi Abuso
Inserito il 26/09/2022 alle: 00:30:30
Ciao, il riscaldatore viene montato in serie per riscaldare il motore e la cabina, è il modo piu' semplice, per l'utilizzo sui nostri mezzi conviene il parallelo, questa configurazione consente la separazione motore/cellula e facilita l'eventuale riscaldamento della cellula ovviamente installando altri radiatori, confermo la tua ipotesi di mettere due T sui tubi che collegano il radiatore cabina al motore, non conosco bene il sistema di controllo temperatura del Ducato 250 ma credo che lo schema che hai postato sia verosimile, sulle versioni precedenti 230 e 244 e sul Daily 35C17, a quadro disinserito, il circuito motore è idraulicamente separato dal radiatore cabina. Un saluto Enzo
Enzo
6
pelletkw
pelletkw
19/08/2019 31
Rispondi Abuso
Inserito il 26/09/2022 alle: 06:10:32
Il discorso è chiaro, alla fine, che sia in serie o in parallelo la funzione che adesso mi preme (preriscaldare il motore e avviare le ventole cabina prima della partenza) viene svolta egregiamente in entrambe le installazioni.
il dubbio che ho è, dov'e il comando "caldo freddo" che agisce sulla mandata della pompa motore?
se si trova all'interno del cruscotto è un casino perché dovrei collegarmi a valle di quella.
6
pelletkw
pelletkw
19/08/2019 31
Rispondi Abuso
Inserito il 26/09/2022 alle: 08:01:11
Mi sono interrogato sull'azione effettiva che scarutisce dal ruotare il comando dell'aria caldo/freddo.
Girando sul web, pare che non ci sia una valvola comandata e tantomento una linea di bypass del radiatore interno, la manopola agisce solamente su un deflettore che gli garantisce o meno lo scambio con l'aria. Quindi l'acqua nel radiatore interno passa costantemente.
Cosi facendo, il collegamento in parallelo che mi proponevi rischierebbe di scambiare solo con il radiatore e non con il motore o viceversa. Ho studiato un attimo lo schema che avevo fatto in precedenza e alla luce dei tuoi commenti l'ho modificato cosi.
Ti chiedo, ha senso la valvola di non ritorno per evitare il ricircolo dell'acqua nel TT durante la marcia? O non avrebbe problemi anche messo direttamente in linea?
Ammetto poi che guardandolo, la doppia valvola 3 vie mi convince poco...
Idraulico%20versione%20valvola%203%20vie(2).png

Modificato da pelletkw il 26/09/2022 alle 08:34:39
11
Semi
Semi
23/03/2014 1126
Rispondi Abuso
Inserito il 26/09/2022 alle: 12:12:56
Ciao, io ho semplicemente installato il thermotop in serie al circuito originale. Nel mio X250 la manopola  che gestisce caldo e freddo apre semplicemente un rubinetto che fa passare o meno l'acqua calda nel radiatore interno della cabina. Per quanto riguarda la ventola interna ho seguito le istruzioni originali del webasto che dicono di portare un +12 su un determinato pin nel vano motore che adesso non ricordo ma che posso andare a cercare. Il mio thermotop ha il consenso all'avviamento con chiudendo un negativo a massa, con lo stesso negativo comando il relè che porta il +12 al connettore della ventola. Per ora la ventola è alimentata solo dalla batteria motore (AGM Varta dual purpose), ma un domani vorrei mettere la possibilità di alimentarla tramite batterie servizi. 
In questo modo posso preriscaldare il motore e intanto se serve sbrinare il parabrezza o comunque avere un riscaldamento di emergenza in caso l'airtop principale avesse problemi.
Semi
6
pelletkw
pelletkw
19/08/2019 31
Rispondi Abuso
Inserito il 26/09/2022 alle: 14:07:04
In risposta al messaggio di Semi del 26/09/2022 alle 12:12:56

Ciao, io ho semplicemente installato il thermotop in serie al circuito originale. Nel mio X250 la manopola  che gestisce caldo e freddo apre semplicemente un rubinetto che fa passare o meno l'acqua calda nel radiatore interno
della cabina. Per quanto riguarda la ventola interna ho seguito le istruzioni originali del webasto che dicono di portare un +12 su un determinato pin nel vano motore che adesso non ricordo ma che posso andare a cercare. Il mio thermotop ha il consenso all'avviamento con chiudendo un negativo a massa, con lo stesso negativo comando il relè che porta il +12 al connettore della ventola. Per ora la ventola è alimentata solo dalla batteria motore (AGM Varta dual purpose), ma un domani vorrei mettere la possibilità di alimentarla tramite batterie servizi.  In questo modo posso preriscaldare il motore e intanto se serve sbrinare il parabrezza o comunque avere un riscaldamento di emergenza in caso l'airtop principale avesse problemi.
...
Ciao Semi, grazie del tuo intervento.
Sapresti dirmi dove si trova questa valvola comandata dal selettore caldo/freddo?
L'impianto elettrico l'avevo strutturato con alimentazione diretta dalla BS, consenso all'accensione POSITIVO con un interruttore che va al pin 1 dell'X1, e con il pin 4 alimento la bobina del relè di scambio che devo mettere in serie al cavo di alimentazione delle ventole, cosi facendo ho tuto sotto BS, ventole incluse, per evitare sorprese in fase di accensione.
Prima di arrivare alla parte elettrica però voglio capire bene la parte idraulica sul miglior modo in cui piazzare tutto già predisposto a futuri ampliamenti.
Argomenti recenti dal forum
Meccanica
PARASASSI - LOCARO PASSARUOTA DUCATO 2026
Buongiorno a tutti, Sono nuovo dell'ambiente, ma sono molto felice d...
RollingLedger
Oggi alle 09:57
Accessori
CBE CSB2 sempre acceso + info su reg.carica
CIao a tutti, ho una Adriatik 572 del 2005 con centralina EBL 208 S ...
dav8989
Oggi alle 07:41
Accessori
Waeco cruiscontroll Ms 900
Chi lo ha montato su ducato 3000cc del 2010 mi spiega come funziona ...
flavius67
Ieri alle: 21:12
Accessori
Impianto 13 poli gancio traino schema
Ciao a tutti, Dubito di risolvere, ma la community qui é numerosa e ...
maaaxxx
Ieri alle: 18:27
Meccanica
Un aiutino da casa x Crossclimate
Mi sono un po perso sulle pressioni corrette , il mezzo è su Ducato ...
dadamazz
Ieri alle: 18:05
Aree di sosta e campeggi
Area sosta sul lago di Barcis
Ciao a tutti , qualcuno è stato a Pasqua nell'area sosta camper a Ba...
diabolik
Ieri alle: 16:14
Accessori
Interpretare smartshunt
Buongiorno, nel cammin di mezza via . . . Mi ritrovo con 2 BS 110AH ...
isauri
Ieri alle: 15:21
Accessori
monitoraggio pressione pneumatici
Buongiorno a tutti, volevo chiedere se qualcuno ha montato un TPMS d...
Walter62
Ieri alle: 14:11
Aree di sosta e campeggi
Area sosta a primaluna LECCO
Buongiorno chiedo x piacere,,qualcuno e stato recentemente all,area ...
giuvanella
Ieri alle: 13:26
Cellula abitativa
Cavi dietro sedile lato passeggero ducato 244
Buongiorno a tutti, sul mio ducato 244 esce dietro il sedile una lin...
CamperistaPN
Ieri alle: 08:55
In camper per
Studio di settore sulle aree camper
Buona sera a tutti Sono qua a chiedere qualche minuto del vostro tem...
kettyke
14/03/26 - 23:02
Meccanica
Arca america 2024
Buonasera a tutti, vorrei capire se il camper in oggetto può già ave...
Adocaro
14/03/26 - 19:14
Cellula abitativa
motorhome hymer 2003 non carica bs
Buongiorno a tutti, ho un problema e spero nel Vostro aiuto. Attacc...
salva56
14/03/26 - 14:29
Viaggi in Italia
Ciclabili Verona est
Abbiamo letto la pagina web dell'agricamping Oro verde a Verona. Sap...
rlui
14/03/26 - 14:28
Accessori
Installazione retrocamera posteriore
Ciao a tutti, ho acquistato un Krunia Schermo Portatile 8'' per Appl...
Karbon17
14/03/26 - 10:10
16
enzo44
enzo44
rating

13/12/2009 4433
Rispondi Abuso
Inserito il 26/09/2022 alle: 20:04:37
In risposta al messaggio di Semi del 26/09/2022 alle 12:12:56

Ciao, io ho semplicemente installato il thermotop in serie al circuito originale. Nel mio X250 la manopola  che gestisce caldo e freddo apre semplicemente un rubinetto che fa passare o meno l'acqua calda nel radiatore interno
della cabina. Per quanto riguarda la ventola interna ho seguito le istruzioni originali del webasto che dicono di portare un +12 su un determinato pin nel vano motore che adesso non ricordo ma che posso andare a cercare. Il mio thermotop ha il consenso all'avviamento con chiudendo un negativo a massa, con lo stesso negativo comando il relè che porta il +12 al connettore della ventola. Per ora la ventola è alimentata solo dalla batteria motore (AGM Varta dual purpose), ma un domani vorrei mettere la possibilità di alimentarla tramite batterie servizi.  In questo modo posso preriscaldare il motore e intanto se serve sbrinare il parabrezza o comunque avere un riscaldamento di emergenza in caso l'airtop principale avesse problemi.
...
Ciao, l'installazione che hai fatto va bene per com è concepito l'impianto, non consente, in modo semplice, di separare il circuito motore ed è poco efficente per l'elevato consumo di carburante in caso di uso continuo, se non prevedi ampliamenti, a mio modo di vedere, è comunque la configurazione migliore, Un saluto
Enzo
11
Semi
Semi
23/03/2014 1126
Rispondi Abuso
Inserito il 26/09/2022 alle: 21:57:13
In risposta al messaggio di pelletkw del 26/09/2022 alle 14:07:04

Ciao Semi, grazie del tuo intervento. Sapresti dirmi dove si trova questa valvola comandata dal selettore caldo/freddo? L'impianto elettrico l'avevo strutturato con alimentazione diretta dalla BS, consenso all'accensione
POSITIVO con un interruttore che va al pin 1 dell'X1, e con il pin 4 alimento la bobina del relè di scambio che devo mettere in serie al cavo di alimentazione delle ventole, cosi facendo ho tuto sotto BS, ventole incluse, per evitare sorprese in fase di accensione. Prima di arrivare alla parte elettrica però voglio capire bene la parte idraulica sul miglior modo in cui piazzare tutto già predisposto a futuri ampliamenti.
...
Il consenso all'avviamento dipende dal modello che hai trovato, il mio di derivazione fiat ulisse ha il consenso con negativo. Per quanto riguarda il rubinetto, potrebbe essere subito dietro la paratia motore, i 2 portatubi dove si attaccato i tubi di mandata e ritorno del riscaldamento cabina dovrebbero essere proprio quelli del rubinetto. Prendi questa informazione con le pinze perché non ne sono sicuro. 
Semi
6
pelletkw
pelletkw
19/08/2019 31
Rispondi Abuso
Inserito il 26/09/2022 alle: 23:29:13
In risposta al messaggio di Semi del 26/09/2022 alle 21:57:13

Il consenso all'avviamento dipende dal modello che hai trovato, il mio di derivazione fiat ulisse ha il consenso con negativo. Per quanto riguarda il rubinetto, potrebbe essere subito dietro la paratia motore, i 2 portatubi
dove si attaccato i tubi di mandata e ritorno del riscaldamento cabina dovrebbero essere proprio quelli del rubinetto. Prendi questa informazione con le pinze perché non ne sono sicuro. 
...
Oggi ho sentito il meccanico che mi conferma che non c'è il rubinetto sul x250.
Ma delle alette che chiudono sopra il radiatore, quindi c'è sempre scambio acqua tra motore e radiatore cellula. 
Appena mi rientra il mezzo a casa provo con motore acceso e ghiera riscaldamento sul freddo a vedere se si scaldano i condotti diretti al cruscotto.
6
pelletkw
pelletkw
19/08/2019 31
Rispondi Abuso
Inserito il 27/09/2022 alle: 00:10:09
In risposta al messaggio di enzo44 del 26/09/2022 alle 20:04:37

Ciao, l'installazione che hai fatto va bene per com è concepito l'impianto, non consente, in modo semplice, di separare il circuito motore ed è poco efficente per l'elevato consumo di carburante in caso di uso continuo, se non prevedi ampliamenti, a mio modo di vedere, è comunque la configurazione migliore, Un saluto
Ciao Enzo, relativamente alla tua indicazione di mettere il TT in parallelo x futuri ampliamenti in cellula, avendo appurato di non poter escludere mai il passaggio acqua nel radiatore cabina e dovendo montare il TT vicino al motore c'è la possibilità che la normale acqua di raffreddamento motore giri attraverso il TT a motore in moto.
Questo può influire sul normale flusso acqua di raffreddamento?
È meglio che preveda un bypass del TT con valvola di ritegno per fa sì che a motore in moto e TT fermo, l'acqua lo bypassi?

Modificato da pelletkw il 27/09/2022 alle 00:11:08
11
Semi
Semi
23/03/2014 1126
Rispondi Abuso
Inserito il 27/09/2022 alle: 21:14:36
In risposta al messaggio di pelletkw del 27/09/2022 alle 00:10:09

Ciao Enzo, relativamente alla tua indicazione di mettere il TT in parallelo x futuri ampliamenti in cellula, avendo appurato di non poter escludere mai il passaggio acqua nel radiatore cabina e dovendo montare il TT vicino
al motore c'è la possibilità che la normale acqua di raffreddamento motore giri attraverso il TT a motore in moto. Questo può influire sul normale flusso acqua di raffreddamento? È meglio che preveda un bypass del TT con valvola di ritegno per fa sì che a motore in moto e TT fermo, l'acqua lo bypassi?
...
Non succede nulla, in tutti i montaggi in serie l'acqua del motore circola sempre nel TT, la pompa è fatta apposta. 
Semi
6
pelletkw
pelletkw
19/08/2019 31
Rispondi Abuso
Inserito il 29/09/2022 alle: 12:56:34
In risposta al messaggio di Semi del 27/09/2022 alle 21:14:36

Non succede nulla, in tutti i montaggi in serie l'acqua del motore circola sempre nel TT, la pompa è fatta apposta. 
Ciao Semi, grazie.
Ti confermo comunque che mi sono studiato i manuali del Ducato x250 e non c'è una valvola che agisce sull'ingresso acqua nel radiatore cabina, ma solamente un deflettore che devia l'aria. Quindi, anche con ghiera tutta sul freddo, l'acqua circola sempre dovunque.
Venendo all'installazione ora mi è chiaro come fare, devo solamente decidere se mettere il tutto in serie (installazione più semplice) ma con più difficoltà in caso di malfunzionamenti/guasti, oppure in parallelo, con l'aggiunta di una valvola NR.
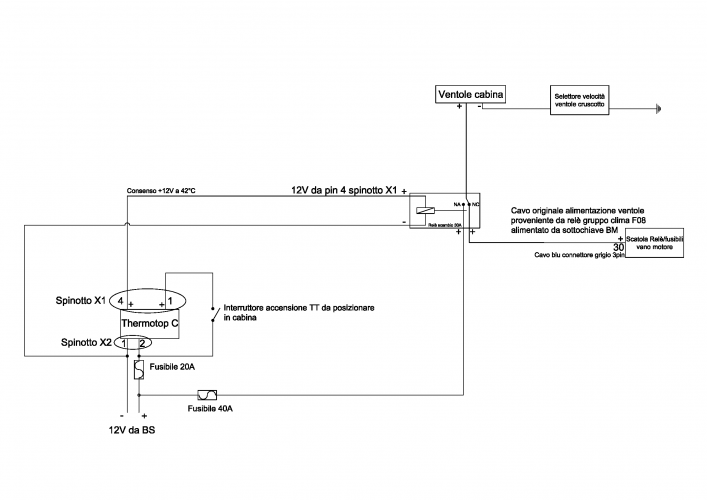
Per quanto riguarda l'impianto elettrico invece, lo avevo pensato cosi.
Avrei bisogno solo di verificare se i fusibili posizionati siano idonei o se ne servano di aggiuntiviCollegamento%20elettrico%20TT.png
Grazie
16
enzo44
enzo44
rating

13/12/2009 4433
Rispondi Abuso
Inserito il 29/09/2022 alle: 17:17:19
In risposta al messaggio di pelletkw del 27/09/2022 alle 00:10:09

Ciao Enzo, relativamente alla tua indicazione di mettere il TT in parallelo x futuri ampliamenti in cellula, avendo appurato di non poter escludere mai il passaggio acqua nel radiatore cabina e dovendo montare il TT vicino
al motore c'è la possibilità che la normale acqua di raffreddamento motore giri attraverso il TT a motore in moto. Questo può influire sul normale flusso acqua di raffreddamento? È meglio che preveda un bypass del TT con valvola di ritegno per fa sì che a motore in moto e TT fermo, l'acqua lo bypassi?
...
Ciao, puoi montare il thermo top come vuoi, non complicarti la vita con valvole di non ritorno o altro, l'installazione non crea alcun problema al circuito di raffreddamento motore, il liquido che circola nel riscaldatore "facilita" lo smaltimento del calore, se le tue esigenze prevedono il riscaldamento della cellula puoi montare una valvola, manuale o elettrica che, a il veicolo  fermo, intercetta il circuito motore, configurazione questa che ottimizza l'installazione, un saluto
Enzo
6
pelletkw
pelletkw
19/08/2019 31
Rispondi Abuso
Inserito il 29/09/2022 alle: 17:44:36
In risposta al messaggio di enzo44 del 29/09/2022 alle 17:17:19

Ciao, puoi montare il thermo top come vuoi, non complicarti la vita con valvole di non ritorno o altro, l'installazione non crea alcun problema al circuito di raffreddamento motore, il liquido che circola nel riscaldatore
facilita lo smaltimento del calore, se le tue esigenze prevedono il riscaldamento della cellula puoi montare una valvola, manuale o elettrica che, a il veicolo  fermo, intercetta il circuito motore, configurazione questa che ottimizza l'installazione, un saluto
...
Ciao Enzo, grazie x i consigli!
Cosa mi dici del circuito elettrico, è idoneo così come l'ho impostato?
Serve qualche altro fusibile a protezione?
12
california 1000
california 1000
15/01/2014 404
Rispondi Abuso
Inserito il 29/09/2022 alle: 19:34:49
In risposta al messaggio di Emme48 del 22/09/2022 alle 03:47:45

Il guru indiscusso su questo argomento è Enzo44 che mi ha dato utili informazioni per installare il mio ThermoTop C, ecco come ho fatto: 1 Collegamento dei tubi del TT in parallelo al radiatore del riscaldamento in cabina
guida in modo da sfruttare lo stesso vaso di espansione della meccanica. 2 La parte elettrica è composta da quattro filii, uno grosso per l'elettronica e la candeletta di accensione (fusibile da 20A), uno per avviare il TT (fusibile 4A), uno della pompa dell'acqua (fusibile 4A) e uno che va direttamente alla pompa a impulsi del gasolio N.B. Un TT (Thermo Top C) è progettato per scaldare l'acqua del motore limitandosi a 70 gradi, fa tutto lui in automatico, ma se si toglie alimentazione ad un qualsiasi riscaldatore a gasolio lanciato alla massima potenza, ci sono buone probabilità di avere un guasto irreversibile. 3 Collegamento del filo grosso direttamente alla BS tramite fusibile da 20A, senza interruttore. 4 Collegamento del filo della pompa e dell'avviamento, collegati insieme, alla BS attraverso la centralina per proteggere la batteria da sottotesione, con fusibile da 4A trmite un interruttore a tre posizioni: acceso / spento / timer meccanico recuperato da un tostapane guasto, impostabile da 0 a 45 minuti, quando stacca suona pue un campanellino. 5 La ventola della cabina guida puoi alimentarla come ho intenzione di fare io, fornendogli energia tramite due grossi diodi che nel mio caso saranno da 70A perchè ne ho tanti; uno preleva energia dall'impianto originale BM, uno preleva corrente dalla BS tramite un circuito varialuce che comprerò su ebay, adatto per impostare una bassa velocità / consumo / rumore, in serie ad un banale termostato meccanico, come quelli in uso negli appartamenti, protetto da fusibile da calcolare misurando con un amperometro l'assorbimento a velocità ridotta,  L'interruttore a tre posizioni con timer alimenterà sia questo fusibile che quello da 4A a protezione della pompa e dell'avvio del TT, il termostato meccanico lo prenderò di quelli che hanno la posizione off. La mia... pignoleria mi ha fatto mettere uno strano circuito che collega la pompa dell'acqua al filo di accensione, togliendo tensione al filo di avvio, parte il ciclo di spegnimento del TT che dura oltre un minuto, è per questo il filo grosso va collegato alla BS, per ulteriori 80 secondi dall'inizio del ciclo di spegnimento, tengo la pompa dell'acqua ancora in funzzione...  Marco.
...
Io ho fatto cosi',
20220929_191832.jpg
grazie anche ad Enzo44
SostaGruppiCompagniItaliaEsteroMarchiMeccanicaCellulaAccessoriEventiLeggiComportamentiDisabiliIn camper perAltro CamperAltroExtra
167k Facebook
343k Instagram
42,6k TikTok
73,3k Youtube
CamperOnLine - Copyright © 1998-2026 - P.Iva 06953990014
Informativa privacy
Loading...

Accedi

Recupera Password
Nuovo utente

Vuoi eliminare il messaggio?

Sottoscrizione

Anteprima

PREFERENZA

Il messaggio è in fase di inserimento.

loading

CamperOnLine

Buongiorno gentile utente,

da oltre 20 anni Camperonline offre gratuitamente tutti i suoi servizi
grazie agli inserzionisti che ci hanno dato la loro fiducia, permettici di continuare il nostro lavoro disattivando il blocco delle pubblicità.

Grazie della collaborazione.

Azione eseguita con successo

Azione Fallita

Condividi

Condividi questa pagina con:

O copia il link