CamperOnLine
  • Camper
    • Camper usati
    • Camper nuovi
    • Produttori
    • Listino
    • Cataloghi
    • Concessionari e rete vendita
    • Noleggio
    • Van
    • Caravan
    • Fiere
    • Rimessaggi
    • Le prove di CamperOnLine
    • Provati da voi
    • Primo acquisto
    • Area professionisti
  • Accessori
    • Accessori e Prodotti
    • Camping Sport Magenta accessori
    • Produttori
    • Antenne TV
    • Ammortizzatori
    • GPS
    • Pneumatici
    • Rimorchi
    • Provati da Voi
    • Fai da te
  • Viaggi
    • Diari di viaggi in camper
    • Eventi
    • Foto
    • Check list
    • Traghetti
    • Trasporti
  • Sosta
    • Cerca Strutture
    • Sosta
    • Aree sosta camper
    • Campeggi
    • Agriturismi con sosta camper
    • App Camperonline App
    • 10 Consigli utili per la sosta
    • Area strutture
  • Forum
    • Tutti i Forum
    • Sosta
    • Gruppi
    • Compagni
    • Italia
    • Estero
    • Marchi
    • Meccanica
    • Cellula
    • Accessori
    • Eventi
    • Leggi
    • Comportamenti
    • Disabili
    • In camper per
    • Altro Camper
    • Altro
    • Extra
    • FAQ
    • Regolamento
    • Attivi
    • Preferiti
    • Cerca
  • Community
    • COL
    • CamperOnFest
    • Convenzioni Convenzioni
    • Amici
    • Furti
    • Informativa Privacy
    • Lavoro
  • COL
    • News
    • Newsletter
    • Pubblicità
    • Contatto
    • Ora
    • RSS RSS
    • Video
    • Facebook
    • Instagram
  • Magazine
  • Italiano
    • Bienvenue
    • Welcome
    • Willkommen
  • Accedi
CamperOnLine
Camping Sport Magenta
  1. Forum
  2. Tecnica
  3. Meccanica
Galleria

Cruise control Alfa 147 su Ducato 244 aiuto!

Rispondi
Cerca
SostaGruppiCompagniItaliaEsteroMarchiMeccanicaCellulaAccessoriEventiLeggiComportamentiDisabiliIn camper perAltro CamperAltroExtra Attivi
1 20 602
ciakimon76
ciakimon76
-
Rispondi Abuso
Inserito il 29/09/2016 alle: 11:57:51
Buongiorno a Tutti, abito a Chieri (TO) e sono possessore di un Challenger 163 motorizzato fiat ducato x244 146cv. acquistato ad aprile di quest'anno. Forse preso dall'entusiasmo del principiante ho già fatto circa 8000 Km. e mi sto divertendo veramente tantissimo col mio v.r. a scoprire questo modo di viaggiare e fare vacanze. Vengo al punto, avendo provato la comodità del cruise control della mia autovettura oramai abbandonata in garage perchè non più utilizzata per viaggi, ho visto che coppog è riuscito ad installare una leva cruise recuperata da uno sfascia carrozze. Convinto che anche altri utenti intervenuti in questi forum sono riusciti nell'impresa, vorrei chiedere delle delucidazioni circa alcuni passaggi che non mi sono chiari.
Il contatto + n.c. sarebbe sempre quello che collego il filo giallo della leva?
il connettore d97 A e B sono uno solo? (se si come distinguerli) 
Il contatto 8 del connettore d97A dove va collegato? (se deve essere collegato?)
come mai un cavo 8 poli se i fili da portare nel veicolo dalla centralina sono 5?
che sezione deve avere il cavo di collegamento centralina leva cruise?
come ha collegato i fili centralina motore/leva? (saldati o con dei fastom)
ringrazio anticipatamente tutti quelli che mi potranno dare informazioni. 
 
ciakimon76
ciakimon76
ciakimon76
-
Inserito il 29/09/2016 alle: 18:22:00

ciakimon76
11
w30430
w30430
16/05/2014 772
Inserito il 29/09/2016 alle: 22:21:24
Ciao,se sicuro che lo schema che hai postato è del 244?
Usa la funzione cerca sicuro trovi molte indicazioni.
silvio

Modificato da w30430 il 29/09/2016 alle 22:22:51
18
dodoisa
dodoisa
02/11/2007 137
Inserito il 30/09/2016 alle: 07:20:15
Ciao sono interessato anche io per ducato 244..
 
dodo
ciakimon76
ciakimon76
-
Inserito il 30/09/2016 alle: 08:01:55
si sono sicurissimo, è questo è il link del vecchio trend 

https://forum.camperonline.it/t...

dove coppog ha condiviso lo schema.

 
ciakimon76
Pirenei Verdon in camper - settembre 202
Pirenei Verdon in camper - settembre 202
Normandia in camper: là dove la Natura
Normandia in camper: là dove la Natura
Pasqua in Costa Azzurra
Pasqua in Costa Azzurra
A spasso per la Germania del Nord in cam
A spasso per la Germania del Nord in cam
In camper nel centro Italia: tra sacro e
In camper nel centro Italia: tra sacro e
Previous Next
18
zioferny1
zioferny1
29/10/2007 257
Inserito il 30/09/2016 alle: 09:02:03
Ciao
Con lo smartphone non mi è agevole controllare, ma mi pare ci siano diverse discussioni riguardanti il Cruise sul 244.
Io stesso seguendone una (ma non ricordo quale) e con le indicazioni preziose di un forumista l'ho montato con grande soddisfazione sul mio 244 che peró è un 2300, del 2006, uno degli ultimi 244 prodotti, e non so se cambia dal 2800.
Se mi scrivi un MP ti giro gli schemi pratici di cui sono in possesso (non so postarli sul forum)
17
hotrod
hotrod
01/12/2008 1693
Inserito il 30/09/2016 alle: 15:46:43
Se ne è parlato nel link

https://forum.camperonline.it/t...



Per rispondere alle domande:
il contatto NC della leva non è collegato e non è un positivo
I connettori 97 sono dei ponti ma non ti interessano, usali solo nello schema elettrico per capire.
Il contatto 8 del 97A è già collegato.
se riesci a trovare il connettore

che si parla nel post precedente sotto il volante o vicino alla fusibiliera non ti serve portare i fili dalla centralina.
I collegamenti li fai come vuoi, saldi, metti un mammut dei faston, come credi.

Ciao
 
 

Modificato da hotrod il 30/09/2016 alle 16:21:30
ciakimon76
ciakimon76
-
Inserito il 30/09/2016 alle: 17:03:44
grazie Hotrod, da una lettura veloce ho capito che i 4 fili della leva li collego connettore nero sotto il cruscotto (se lo trovo), e dunque non devo portare nulla dalla centralina motore. Il 5 filo della leva lo collego al positivo sotto chiave (se  ho capito bene), invece i collegamenti spia quadro strumenti ed interruttore nuovo 4 fili come e dove li collego?? 
Se tu hai fatto il lavoro puoi dirmi se i fili del connettore sotto il cruscotto corrispondono come colore a quello dello schema sopra indicato?
grazie 
ciakimon76
17
hotrod
hotrod
01/12/2008 1693
Inserito il 30/09/2016 alle: 17:28:33
Io ho dovuto portarmi i fili dalla centralina e mettere un led esterno, procurati il pulsante stop della AR 147 diesel e se vuoi la leva o ti fai una scatoletta con led pulsanti e interuttore che servono, potresti piazzarla sulla parte dx degli strumenti vicino allo sportelllino con la vite coperta.
Vedi intanto se hai il connettore.
ciakimon76
ciakimon76
-
Inserito il 30/09/2016 alle: 17:44:56
La leva già l'ho trovata, questa qui sotto dovrebbe andare bene era di una vecchia 147,


l'interruttore stop 4 fili lo compro nuovo, se non erro 10 € circa, sarebbe un peccato non poter far funzionare la sua spia.
Cmq un passo alla volta domani vedo se c'è il connettore sotto il cruscotto.
grazie 
ciakimon76
17
hotrod
hotrod
01/12/2008 1693
Inserito il 30/09/2016 alle: 17:53:17
A suo tempo smontai il quadro degli strumenti e ho visto che mancava il led e un connettore dietro nel quadro strumenti, alchè ho rinunciato al led nativo.
Dipende cosa han fatto in Fiat, se è un Power 146 CV dovrebbe essere più recente del mio e forse ha tutto.
Il costo del pulsante freno dovrebbe essere sui 15€ da lì vedi che ci sono i fili anche per la parte NC che serve appunto al cruise.
ciakimon76
ciakimon76
-
Inserito il 30/09/2016 alle: 18:42:07
questo è lo schema scaricato dal manuale officina del mio fiat ducato 2.8 jtd 146cv. del 2005. effettivamente coincide con quello precedentemente postato tranne qualcosina.

ciakimon76
ciakimon76
ciakimon76
-
Inserito il 30/09/2016 alle: 18:49:43
H007 comando cruise;
D018b dovrebbe essere il connettore nero da cercare;
I030 è l'interruttore 4 fili dello stop;
E050 è la spia dell'indicatore strumenti;
M010 è la centralina motore;
D097B + sotto chiave dove mettere il fusibile 5A. questo è tutto quello che mi serve.
Credo sia importante vedere anche se c'è il connettore D004A, che unisce centralina motore, interruttore freno, spia quadro strumenti e leva cruise control
credo
 
ciakimon76
18
dodoisa
dodoisa
02/11/2007 137
Inserito il 30/09/2016 alle: 22:20:55
ciao a tutti. anche io sono interessato anche se ancora non ho la leva cruise.
il mio ducato  e del gennaio 2004 ho smontato la mascherina del piantone dello sterzo ma non c'è nessun cablaggio
vicino ai fusibili ho trovato un connettore femmina nero uguale alla foto postata da hotrod con collegati 2 fili e  non quattro.
potrebbe essere il connettore giusto?
dodo
17
hotrod
hotrod
01/12/2008 1693
Inserito il 03/10/2016 alle: 17:45:48
Potrebbe essere il connettore giusto ma penso gli manchi la femmina con i 6 fili che ti servono, per cui i fili li devi portare dalla ECU.
18
dodoisa
dodoisa
02/11/2007 137
Inserito il 04/10/2016 alle: 08:48:53
grazie hotrod. ora cerco di capire dove vanno a finire i 2 fili collegati a questo spinotto poi rileggo un po tutto per vedere se riesco in questa impresa.

grazie
dodo
17
hotrod
hotrod
01/12/2008 1693
Inserito il 04/10/2016 alle: 12:38:26

Non ti servono quei 2 fili, non badare.
Ti manca un pezzo di cablaggio, appunto dalla ECU passando sotto la fusibiliera nel vano motore dove c'è un altro connettore grande al cruscotto.

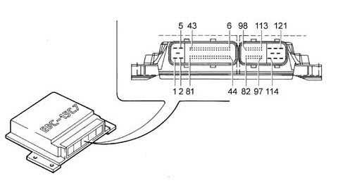
Qui vedi la piedinatura della ECU che si trova sul parafango vicino al faro SX sotto una protezione in plastica.
Controlla i piedini che ti interessano fuorchè il 61 dove arrivano al connettore Maschio/femmina affogato sotto la fusibiliera e vedrai che arrivano da un lato ma non ripartono dall'altro, devi portarli nell'abitacolo con un cavetto da citofono o da seriale, magari schermato.
Ciao

Modificato da hotrod il 05/10/2016 alle 13:52:34
ciakimon76
ciakimon76
-
Inserito il 04/10/2016 alle: 21:09:22
Buonasera, allora questo è quello che ho trovato e credo di essere molto fortunato:


connettore nero ovvero nello schema D018B



interruttore pedale freno nuovo con 4 pin





e relativo cavo già cablato


vecchio interruttore

ciakimon76
ciakimon76
ciakimon76
-
Inserito il 04/10/2016 alle: 21:24:01
questo è quello che credo si essenziale.... 
connettore D160A da dove prendere il segnale del pin 3 interruttore pedale freno e alimentazione sotto chiave da portare al filo giallo della leva.
se vedete nello schema in questo connettore bianco il pin 1 filo azzurro è il segnale del pedale freno ed il pin 6 (azzurro bianco) alimentazione sotto chiave protetta da fusibile 27 7,5 A.






ora collegare il connettore D018B alla leva cruise è un gioco da ragazzi.... al connettore D160A ponticello il pin 1 (segnale freno) ed il pin 6 (corrente sotto chiave ) e lo collegherò direttamente al pin 2 (filo giallo) della leva senza passare dal connettore D097F.
appena collego tutto vi farò sapere.
Per essere arrivato a tutto questo devo ringraziare Fernando " zioferny1" che mi ha mandato degli schemi che gli ha girato (Adriano Ferrari) sempre utente di questo forum.
grazie


 
ciakimon76
ciakimon76
ciakimon76
-
Inserito il 04/10/2016 alle: 21:50:36
questi sono gli schemi che mi sono stati molto utili, spero lo siano anche a Voi:




questo è il lavoro finito di  zioferny1.



e questo un'altro modo per posizionare la leva




e questo di (Adriano FERRARI) 
ancora grazie 

ciakimon76
17
hotrod
hotrod
01/12/2008 1693
Inserito il 05/10/2016 alle: 13:54:54
Bene , tu sei fortunato.
Anche se non capisco in quello schema che funzione ha il ponte sui pin 3 e 4 del pulsante stop, magari Zioferny o Adrife ce lo diranno.

Ciao
SostaGruppiCompagniItaliaEsteroMarchiMeccanicaCellulaAccessoriEventiLeggiComportamentiDisabiliIn camper perAltro CamperAltroExtra Attivi
Argomenti recenti dal forum
Accessori
Sezione Cavi - Capicorda e Dimensionamento.
Ciao, vi ringrazio in anticipo per il forum dove ho trovato davvero tanti spunti e vorrei ...
Jamalcas
26 minuti fa
Altro sui camper
Quando si dice onestà...
Ciao,leggete la descrizione...piu sincero di cosi nn si puo'...da stimare! ......
merlino64
Oggi alle 08:28
Cellula abitativa
Frigo compressore cablaggio
Ciao a tutti, Sto cambiando il frigo trivalente con il compressore. Oggi ho tirato una l...
camperdavide
Ieri alle: 23:02
Meccanica
Interruttore inerziale Daily V serie
Qualcuno sa dove si trova l'interruttore inerziale del daily V serie (2012 - 2014) Trov...
rubylove
Ieri alle: 22:50
Accessori
Ditta Gemini
Buongiorno sto cercando di contattare la ditta di antifurti Gemini. il telefono risulta no...
penguin46
Ieri alle: 17:18
Meccanica
Spurgo radiatore ducato 2800jtd
Buongiorno ,ho sostituito il radiatore del mio ducato 2800jtd 127 CV e ho messo il nuovo ...
giuvanella
Ieri alle: 15:30
Meccanica
Transit 2011 gemellato non parte RISOLTO
Buongiorno a tutti, ieri mattina con mia sorppresa non si mette più in moto il camper, ho ...
Enzo40
Ieri alle: 08:49
Cellula abitativa
Cambiamento oscuranti
Buongiorno a tutti, sono un neo camperista di 21 anni, sono nel mondo dei camper da quando...
Andreaus27
Ieri alle: 07:29
Altro sui camper
TrovaSagre app
Ciao a tutti , volevo segnalare un'app che ho sviluppato da solo e che risolve una mia esi...
Doctor Who
27/04/26 - 13:39
Meccanica
Luce quadro strumenti Ducato
Buon giorno qualcuno sa dirmi se sul Ducato 250 del 2011 sul quadro strumenti (contagiri ...
nebris
27/04/26 - 13:27
Accessori
Box fai-da-te per batteria al litio.
Chi non è stato condannato dal destino a mettere la batteria al litio sotto il sedile, può...
Emme48
27/04/26 - 08:23
Cellula abitativa
Scheda madre per frigo Dometic RMD 8555 AES
Buongiorno a tutti. Dopo varie prove ho potuto appurare che il malfunzionamento a gas del ...
superbrigaldo
26/04/26 - 23:44
168k Facebook
343k Instagram
42,6k TikTok
73,6K Youtube
CamperOnLine - Copyright © 1998-2026 - P.Iva 06953990014
Informativa privacy
Loading...

Accedi

Recupera Password
Nuovo utente

Vuoi eliminare il messaggio?

Sottoscrizione

Anteprima

PREFERENZA

Il messaggio è in fase di inserimento.

loading

CamperOnLine

Buongiorno gentile utente,

da oltre 20 anni Camperonline offre gratuitamente tutti i suoi servizi
grazie agli inserzionisti che ci hanno dato la loro fiducia, permettici di continuare il nostro lavoro disattivando il blocco delle pubblicità.

Grazie della collaborazione.

Azione eseguita con successo

Azione Fallita

Condividi

Condividi questa pagina con:

O copia il link