CamperOnLine
  • Camper
    • Camper usati
    • Camper nuovi
    • Produttori
    • Listino
    • Cataloghi
    • Concessionari e rete vendita
    • Noleggio
    • Van
    • Caravan
    • Fiere
    • Rimessaggi
    • Le prove di CamperOnLine
    • Provati da voi
    • Primo acquisto
    • Area professionisti
  • Accessori
    • Accessori e Prodotti
    • Camping Sport Magenta accessori
    • Produttori
    • Antenne TV
    • Ammortizzatori
    • GPS
    • Pneumatici
    • Rimorchi
    • Provati da Voi
    • Fai da te
  • Viaggi
    • Diari di viaggi in camper
    • Eventi
    • Foto
    • Check list
    • Traghetti
    • Trasporti
  • Sosta
    • Cerca Strutture
    • Sosta
    • Aree sosta camper
    • Campeggi
    • Agriturismi con sosta camper
    • App Camperonline App
    • 10 Consigli utili per la sosta
    • Area strutture
  • Forum
    • Tutti i Forum
    • Sosta
    • Gruppi
    • Compagni
    • Italia
    • Estero
    • Marchi
    • Meccanica
    • Cellula
    • Accessori
    • Eventi
    • Leggi
    • Comportamenti
    • Disabili
    • In camper per
    • Altro Camper
    • Altro
    • Extra
    • FAQ
    • Regolamento
    • Attivi
    • Preferiti
    • Cerca
  • Community
    • COL
    • CamperOnFest
    • Convenzioni Convenzioni
    • Amici
    • Furti
    • Informativa Privacy
    • Lavoro
  • COL
    • News
    • Newsletter
    • Pubblicità
    • Contatto
    • Ora
    • RSS RSS
    • Video
    • Facebook
    • Instagram
  • Magazine
  • Italiano
    • Bienvenue
    • Welcome
    • Willkommen
  • Accedi
CamperOnLine
Camping Sport Magenta
  1. Forum
  2. Tecnica
  3. Meccanica
Galleria

Relè particolare

Rispondi
Cerca
SostaGruppiCompagniItaliaEsteroMarchiMeccanicaCellulaAccessoriEventiLeggiComportamentiDisabiliIn camper perAltro CamperAltroExtra Attivi
1 20 6
8
ciano71
ciano71
27/12/2017 14
Rispondi Abuso
Inserito il 14/01/2022 alle: 10:50:49
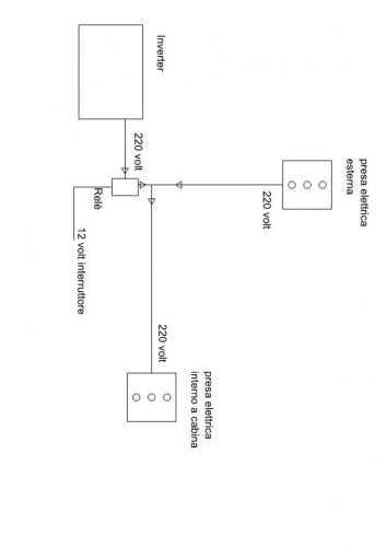
Buongiorno a tutti ho da chiedere un consiglio. 
sto facendo una modifica sto cercando un relè che che attiva con 12 volt per comandacompassaggio 220volt
qualcuno di voi mi può dare indicazioni?

Modificato da ciano71 il 14/01/2022 alle 10:53:50
17
masivo
masivo
rating

24/08/2008 15481
Rispondi Abuso
Inserito il 14/01/2022 alle: 11:57:48
Mi sa che devi spiegare meglio, quello che vuoi fare, e mettere delle virgole sullo scritto.
Ivo
9
Sergione66
Sergione66
13/01/2017 4197
Rispondi Abuso
Inserito il 14/01/2022 alle: 12:40:44
Credo intenda un oggetto tipo questo:

https://www.amazon.it/diymore-2...

Sergio - Genova - Carthago Liner 65LE (Jeegolino)
8
ciano71
ciano71
27/12/2017 14
Rispondi Abuso
Inserito il 15/01/2022 alle: 11:22:20
Buon giorno mi scuso per il mio italiano ma sono dislessico.
Cercherò di essere più chiaro inviando un disegno ,spero di essere che riusciate a capire 
modifica-p1.jpg
19
anasta
anasta
rating

21/11/2006 2448
Rispondi Abuso
Inserito il 15/01/2022 alle: 15:16:56
In risposta al messaggio di ciano71 del 14/01/2022 alle 10:50:49

Buongiorno a tutti ho da chiedere un consiglio.  sto facendo una modifica sto cercando un relè che che attiva con 12 volt per comandacompassaggio 220volt qualcuno di voi mi può dare indicazioni?
Se ho ben capito vuoi fare in modo che arrivi alle prese interne al camper la 230 direttamente dalla colonnina oppure dall'inverter.
Se è così è già tutto pronto, vai su

www.m48.it

  seleziona   camper bricolage   e poi   impianto inverter e copia quello schema (grazie Marco), in questo modo non avrai consumi inutili sul 12V, ma solo se allacciato alla colonnina.
Andrea
Luglio 2022: Alsazia, Lorena e Normandia
Luglio 2022: Alsazia, Lorena e Normandia
Finlandia in camper
Finlandia in camper
Viitasaari, il comune dei 630 laghi
Viitasaari, il comune dei 630 laghi
Viaggio in camper 2025 nel Perigord
Viaggio in camper 2025 nel Perigord
Alla scoperta della Polonia, in camper
Alla scoperta della Polonia, in camper
Previous Next
17
masivo
masivo
rating

24/08/2008 15481
Rispondi Abuso
Inserito il 15/01/2022 alle: 17:05:50
In risposta al messaggio di ciano71 del 15/01/2022 alle 11:22:20

Buon giorno mi scuso per il mio italiano ma sono dislessico. Cercherò di essere più chiaro inviando un disegno ,spero di essere che riusciate a capire 
Ha anche io un impianto così, il relè è attivato dal 220 di rete, non ha senso usare i 12 volt.
L' inverter è collegato all' impianto senza il 220 dare rete, se si collega il 220 da rete, il relè scollega l' inverter.
Ivo
8
ciano71
ciano71
27/12/2017 14
Rispondi Abuso
Inserito il 15/01/2022 alle: 21:22:34
Grazie mille a tutti per l'aiuto
SostaGruppiCompagniItaliaEsteroMarchiMeccanicaCellulaAccessoriEventiLeggiComportamentiDisabiliIn camper perAltro CamperAltroExtra Attivi
Argomenti recenti dal forum
Viaggi all'estero
Da Roma a marrakech in solitaria in economia
Ciao, vi spiego la situazione: mia moglie ha ferie dal 10 agosto al 8 settembre; io avrei ...
gianninotopo
Oggi alle 22:04
Accessori
Passaggio a Litio e Batteria LiFePo4 DIY
Ciao a tutti apro questo thread per condividere qualche lavoretto e perchè avrò bisogno di...
ciberbastard
Oggi alle 21:47
Viaggi in Italia
Destinazione Castiglione della Pescaia (da Monza)
Egregi, buongiorno, abbiamo prenotato una decina di giorni a Castiglione della Pescaia ad ...
CaroladeMondini
Oggi alle 18:45
Cellula abitativa
Letto basculante: aria fredda la notte
Ciao, ho dormito per la prima volta per due volte sul basculante del nostro nuovo MH (ITI...
sicce
Oggi alle 18:33
Cellula abitativa
lavaggio giusto
un saluto a tutti vorrei chiedervi come evitare che dopo ogni lavaggio si formi immancabil...
ciotta
Oggi alle 18:03
Accessori
Aiuto NDS power service gold m30
Buonasera, cerco un aiuto da qualcuno che conosce questo aggieggio. L’ho comprato usato pe...
Trippuma
Oggi alle 17:58
Accessori
Un parere sulla scelta del frigo a compressore
Buongiorno. Ho il frigo trivalente Dometic RM7361 del 2004 che per la prima volta mi da de...
bolsenior
Oggi alle 17:11
Meccanica
AGGIORNAMENTO AL BODY COMPUTER
salve a tutti, qualche collega camperista, saprebbe indicarmi come aggiornare il body (in ...
Azzurro69
Oggi alle 14:53
Accessori
Carrello porta moto Amplo
Salve, sto valutando di prendere un carrello porta moto per poter trasportare il mio scoot...
Fausto Verona
Oggi alle 12:08
Aree di sosta e campeggi
Finale Ligure - area camper Caprazoppa
Qualcuno ha per favore aggiornamenti su quest'area camper? Ho letto che a gennaio 2026 e' ...
mavalle
Oggi alle 12:02
Viaggi all'estero
Spedizione del VAN a Shanghai
Ciao a tutti, l'anno prossimo vorrei spedire il mio VAN a Shanghai e poi tornare via stra...
pietro lmc
Oggi alle 11:20
Meccanica
Pressione Pneumatici Iveco Turbo Daily 35.12
Salve, Ho da poco cambiato i pneumatici (Barum 4 stagioni) al mio vecchietto Iveco turbo D...
Mondello75
Ieri alle: 21:05
168k Facebook
343k Instagram
42,6k TikTok
73,6K Youtube
CamperOnLine - Copyright © 1998-2026 - P.Iva 06953990014
Informativa privacy
Loading...

Accedi

Recupera Password
Nuovo utente

Vuoi eliminare il messaggio?

Sottoscrizione

Anteprima

PREFERENZA

Il messaggio è in fase di inserimento.

loading

CamperOnLine

Buongiorno gentile utente,

da oltre 20 anni Camperonline offre gratuitamente tutti i suoi servizi
grazie agli inserzionisti che ci hanno dato la loro fiducia, permettici di continuare il nostro lavoro disattivando il blocco delle pubblicità.

Grazie della collaborazione.

Azione eseguita con successo

Azione Fallita

Condividi

Condividi questa pagina con:

O copia il link