CamperOnLine
  • Camper
    • Camper usati
    • Camper nuovi
    • Produttori
    • Listino
    • Cataloghi
    • Concessionari e rete vendita
    • Noleggio
    • Van
    • Caravan
    • Fiere
    • Rimessaggi
    • Le prove di CamperOnLine
    • Provati da voi
    • Primo acquisto
    • Area professionisti
  • Accessori
    • Accessori e Prodotti
    • Camping Sport Magenta accessori
    • Produttori
    • Antenne TV
    • Ammortizzatori
    • GPS
    • Pneumatici
    • Rimorchi
    • Provati da Voi
    • Fai da te
  • Viaggi
    • Diari di viaggi in camper
    • Eventi
    • Foto
    • Check list
    • Traghetti
    • Trasporti
  • Sosta
    • Cerca Strutture
    • Sosta
    • Aree sosta camper
    • Campeggi
    • Agriturismi con sosta camper
    • App Camperonline App
    • 10 Consigli utili per la sosta
    • Area strutture
  • Forum
    • Tutti i Forum
    • Sosta
    • Gruppi
    • Compagni
    • Italia
    • Estero
    • Marchi
    • Meccanica
    • Cellula
    • Accessori
    • Eventi
    • Leggi
    • Comportamenti
    • Disabili
    • In camper per
    • Altro Camper
    • Altro
    • Extra
    • FAQ
    • Regolamento
    • Attivi
    • Preferiti
    • Cerca
  • Community
    • COL
    • CamperOnFest
    • Convenzioni Convenzioni
    • Amici
    • Furti
    • Informativa Privacy
    • Lavoro
  • COL
    • News
    • Newsletter
    • Pubblicità
    • Contatto
    • Ora
    • RSS RSS
    • Video
    • Facebook
    • Instagram
  • Magazine
  • Italiano
    • Bienvenue
    • Welcome
    • Willkommen
  • Accedi
CamperOnLine
Camping Sport Magenta
  1. Forum
  2. Tecnica
  3. Accessori
Galleria

Nuova Truma D6E - cattivo odore in cellula

Rispondi
Cerca
Berger Camping
SostaGruppiCompagniItaliaEsteroMarchiMeccanicaCellulaAccessoriEventiLeggiComportamentiDisabiliIn camper perAltro CamperAltroExtra
3 20 62
Mauro1977
Mauro1977
17/01/2022 477
Rispondi Abuso
Inserito il 31/05/2023 alle: 11:43:57
In risposta al messaggio di Giuliopgn del 29/05/2023 alle 21:24:40

Cioè sono tornati al camino della GPL? Strano che abbiano sviluppato un nuovo camino molto più costoso e difficile da montare per poi ritornare a quello vecchio, non sarà li il problema?
"Strano che abbiano sviluppato un nuovo camino molto più costoso e difficile da montare per poi ritornare a quello vecchio, non sarà li il problema?"

Ho fatto la tua stessa considerazione e pertanto ho deciso di documentarmi. Nel precedente modello la stufa era collegata all’esterno con due tubi di cui uno coassiale. Un tubo era destinato esclusivamente all’aspirazione dell’aria comburente (temo che tale tubo dedicato sia scomparso nel nuovo modello).
L’altro tubo (coassiale) era destinato allo scarico dei fumi prodotti dalla combustione. Domanda: perchè Truma utilizzava un tubo coassiale per lo scarico dei fumi? La risposta risiede proprio nella tipologia di camino tanto scomodo durante le installazioni aftermarket quanto utile a garantire un flusso di aria “fresca” dalla stufa verso l’esterno. Mi spiego meglio: ho consultato la banca dati dei brevetti Truma (è tutto pubblico) ed il vecchio camino aveva (tra le altre) proprio la funzione di allontanare con un flusso costante di aria fresca eventuali “perdite” di gas di scarico:

https://worldwide.espacenet.com...


 
Il tutto avveniva attraverso la camicia esterna presente intorno al tubo di scarico. Va detto che, sempre come riportato nel brevetto, in assenza di tale dispositivo ed in presenza di una eventuale perdita "importante" dei gas di scarico questi miscelandosi con l’aria comburente in aspirazione farebbero spegnere il bruciatore. Riporto in grassetto alcuni passaggi del brevetto (sono traduzioni automatiche quindi potrebbero esserci alcuni errori):
 
[0007]
 
Nei bruciatori ad aria soffiata noti, il ventilatore dell'aria comburente è disposto nel dispositivo, con il risultato che i gas di scarico vengono scaricati con l'ausilio della sovrapressione nella tubazione dei gas di scarico posta a valle del ventilatore dell'aria comburente. 
Di conseguenza, esiste il rischio che, in caso di perdita nel tubo di scarico o in un punto di collegamento del tubo di scarico, i gas di scarico possano fuoriuscire e, nel peggiore dei casi, penetrare nell'abitacolo per essere riscaldati. 
[0008]
 
Nei dispositivi noti, questo rischio viene contrastato dal fatto che l'aria comburente da alimentare al bruciatore viene aspirata attraverso un secondo tubo, che è disposto come tubo sovrapposto al di sopra del tubo di scarico sotto forma di una struttura tubolare. 
Quando l'aria comburente viene aspirata, si genera una depressione nel troppo tubo, per cui in caso di perdita nel tubo di scarico interno, i gas di scarico vengono automaticamente aspirati con l'aria comburente. In caso di perdita maggiore, il bruciatore si spegne automaticamente, poiché l'aspirazione dei gas di scarico riduce la percentuale di aria fresca al di sotto del valore richiesto. In caso di perdita minore, invece, cambia solo il valore di CO2 nei gas di scarico.
 
 
 
Riporto altri passaggi interessanti del brevetto (sono sempre traduzioni automatiche quindi potrebbero esserci alcuni errori):
 
[0014]
 
L'invenzione si basa sullo scopo di specificare un dispositivo per gas di scarico in cui si ottiene anche un funzionamento sicuro di riscaldatori o altri dispositivi con bruciatori a gas o a combustibile liquido, ma in cui l'influenza della temperatura dei gas di scarico è ridotta. 
[0015]
 
Lo scopo è raggiunto secondo l'invenzione da un dispositivo di scarico secondo la rivendicazione 1. 
Sviluppi vantaggiosi sono dati nelle rivendicazioni dipendenti. 
[0016]
 
Secondo l'invenzione, un dispositivo di scarico per un dispositivo di combustione in un locale mobile presenta: un condotto dei gas di scarico per condurre i gas di scarico dal dispositivo di combustione nell'ambiente, un condotto dell'aria che circonda almeno parzialmente il condotto dei gas di scarico ed è aperto per l'ambiente, e un dispositivo soffiante disposto nel condotto dell'aria per generare un flusso d'aria nel condotto dell'aria. 
Il flusso d'aria nel condotto dell'aria ha una direzione di flusso verso l'ambiente. 
In particolare, il flusso d'aria nel condotto dell'aria può essere guidato dal dispositivo di combustione all'ambiente. 
[0017]
 
Il dispositivo di scarico può includere un dispositivo di sicurezza per garantire l'evacuazione di eventuali gas di scarico dalla cabina. 
[0018]
 
 
La struttura generale del dispositivo per gas di scarico è spiegata nel seguito, in particolare con riferimento alle figg. 
 
Schermata%202023-05-31%20alle%2011_45_21.png
Schermata%202023-05-31%20alle%2011_45_42.png
Schermata%202023-05-31%20alle%2011_45_51.png
 
 

[0041]
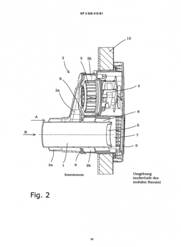
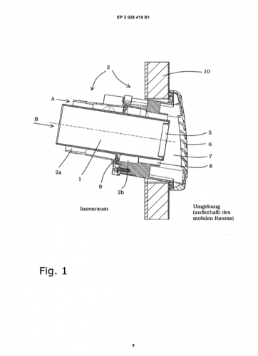
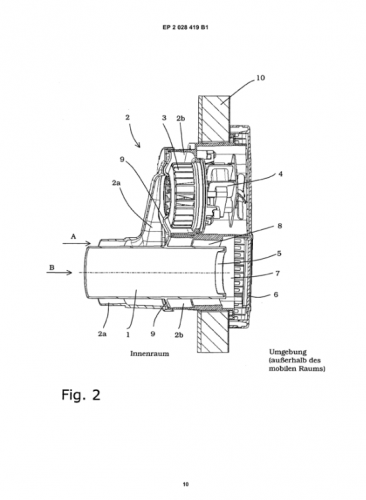
Un tubo di scarico 1 che funge da condotto per i gas di scarico è circondato alla periferia da un condotto 2 per l'aria. 
Il condotto dell'aria 2 è suddiviso in una sezione a pressione negativa 2a e una sezione a pressione positiva 2b. 
La sezione di pressione negativa 2a e la sezione di pressione positiva 2b circondano il tubo di scarico 1 sulla circonferenza. 
Tra la sezione a pressione negativa 2a e la sezione a pressione positiva 2b è disposto un ventilatore radiale 3 che funge da dispositivo di ventilazione, che aspira aria dalla sezione a pressione negativa 2a e la forza nella sezione a pressione positiva 2b. 
Di conseguenza, nel condotto dell'aria viene creato un flusso d'aria con direzione di flusso A (vedere freccia). 
[0042] 
Il ventilatore radiale 3 è azionato da un motore del ventilatore 4 . 
[0043]
Il tubo di scarico 1 conduce all'interno di una z. 
B. soggiorno o cabina passeggeri in una roulotte, casa mobile o barca o simili a un bruciatore (bruciatore) di un dispositivo di riscaldamento, non mostrato, che sarebbe a sinistra del dispositivo di scarico mostrato nelle figure 1 e 2 da organizzato. 
Di conseguenza, il gas di scarico fluisce nella direzione della freccia B davanti al dispositivo di combustione nel tubo di scarico 1 e fuoriesce dal tubo di scarico 1 in corrispondenza di un orifizio 5 per raggiungere l'ambiente esterno a destra nelle figg. 
[0044]
La bocca 5 è protetta da una griglia di uscita 6, che da un lato ha lo scopo di impedire l'ingresso di umidità o sporcizia nel condotto di scarico e dall'altro di evitare che i gas di scarico defluiscano direttamente nell'ambiente. 
[0045]
Con l'ausilio della griglia di uscita 6 viene formata una zona di miscelazione 7, nella quale si apre anche la sezione di sovrappressione 2b attraverso un orifizio 8. 
[0046]
Nella zona di miscelazione 7, i gas di scarico caldi provenienti dal condotto di scarico 1 si miscelano quindi con l'aria più fredda espulsa dal ventilatore radiale 3 attraverso la sezione di sovrappressione 2b. 
Di conseguenza, la temperatura dei gas di scarico viene notevolmente abbassata, cosicché i gas di scarico possono finalmente uscire nell'ambiente attraverso la griglia di uscita 6 ad una temperatura inferiore, non critica. 
[0047]
Va osservato che, in particolare durante l'avvio del dispositivo di riscaldamento, i gas di scarico possono fuoriuscire in vari punti del dispositivo di riscaldamento a causa di picchi di pressione e causare danni all'interno. 
Di conseguenza, è necessario garantire che tutti i giunti di tenuta, i giunti di separazione, le aperture, ecc., attraverso i quali i gas di scarico possono fuoriuscire in modo incontrollato in caso di una corrispondente sovrapressione nel sistema, siano circondati dalla sezione di pressione negativa 2a o siano collegati al flusso con esso. 
In questo modo, i gas di scarico indesiderati che fuoriescono dal condotto di scarico 1 e da altre unità vengono aspirati attraverso la sezione a pressione negativa 2a per effetto dell'azione del ventilatore radiale 3 ed infine espulsi nell'ambiente circostante attraverso la sezione a pressione positiva 2b. 
[0049]
L'intero dispositivo per gas di scarico può - come mostrato nelle figure 1 e 2 - essere utilizzato come unità in una parete 10 di un veicolo di una roulotte o casa mobile o altro dispositivo mobile. 
[0053]
L'aria scaricata attraverso il condotto dell'aria 2 non solo garantisce uno scarico sicuro di gas di scarico che fuoriescono indesiderabilmente. 
Inoltre, con un'opportuna progettazione del dispositivo di combustione o del dispositivo di riscaldamento, esiste anche la possibilità di raffreddare efficacemente le zone critiche. 
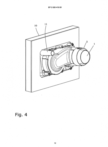
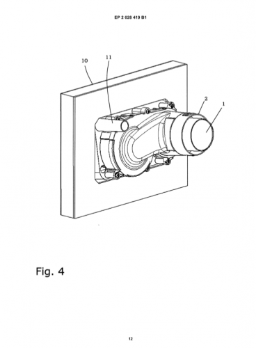
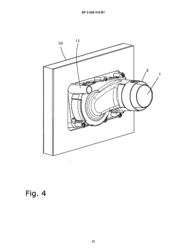
[0055]
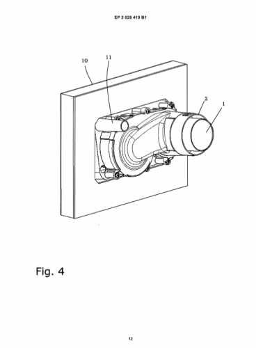
La Fig. 4 mostra la vista posteriore del dispositivo di scarico dall'interno. 
[0056]
In particolare è visibile un raccordo 11 di ingresso, attraverso il quale l'aria fresca dall'ambiente può essere alimentata al dispositivo di combustione come aria comburente. 
Nel dispositivo di combustione, l'aria fresca alimentata attraverso l'ugello di immissione 11 viene miscelata con combustibile (gas di petrolio liquefatto, combustibile liquido) e bruciata in modo noto. 
Ciò garantisce che l'aria di combustione utilizzata per la combustione non provenga dall'interno da riscaldare, ma dall'ambiente. 
[0057]
Il raccordo di afflusso 11 fa quindi parte di un condotto dell'aria comburente che è previsto in aggiunta al condotto 2 dell'aria. 
Mentre l'aria nel condotto dell'aria 2 fluisce verso l'ambiente circostante, l'aria nel condotto dell'aria comburente, non rappresentata in dettaglio nelle figure, fluisce dall'ambiente all'interno. 
 

Mauro
 

Modificato da Mauro1977 il 31/05/2023 alle 11:47:14
Giuliopgn
Giuliopgn
-
Rispondi Abuso
Inserito il 31/05/2023 alle: 16:51:47

"Domanda: perché Truma utilizzava un tubo coassiale per lo scarico dei fumi?"
Di solito si fa per preriscaldare l'aria in ingresso in modo da recuperare il più possibile calore dai fumi di scarico.
Ma in tutte ci sono i tubi coassiali, GPL e D, invece, se questo scarico è brevettato, non è che la D che viene venduta ora con il vecchio scarico della GPL è per non incorrere nel brevetto?
 
Giuliopgn

Modificato da Giuliopgn il 31/05/2023 alle 16:52:02
Mauro1977
Mauro1977
17/01/2022 477
Rispondi Abuso
Inserito il 31/05/2023 alle: 17:10:28
In risposta al messaggio di Giuliopgn del 31/05/2023 alle 16:51:47

Domanda: perché Truma utilizzava un tubo coassiale per lo scarico dei fumi? Di solito si fa per preriscaldare l'aria in ingresso in modo da recuperare il più possibile calore dai fumi di scarico. Ma in tutte ci sono i
tubi coassiali, GPL e D, invece, se questo scarico è brevettato, non è che la D che viene venduta ora con il vecchio scarico della GPL è per non incorrere nel brevetto?  
...
"Di solito si fa per preriscaldare l'aria in ingresso in modo da recuperare il più possibile calore dai fumi di scarico"

In quel caso erano entrambi dedicati allo scarico e con andamento del flusso dalla stufa verso l'esterno. In particolare quello interno era dedicato alla emissione dei gas combusti e quello esterno al flusso di aria per allontanare eventuali perdite.
Il tubo dedicato al comburente era completamente separato (compreso l'ingresso in stufa). Tra l'altro sempre nel patent è riportato il seguente testo che fa riferimento a sistemi con tubo coassiale scarico/ingresso aria comburente (è sempre tradotto automaticamente):

[0010]
Tuttavia, nella struttura descritta, la temperatura dell'aria comburente è fortemente legata alla temperatura dei gas di scarico, in quanto la struttura a tubi in tubi corrisponde ad uno scambiatore di calore a tubi.
Per compensare le fluttuazioni del flusso volumetrico risultanti, il ventilatore dell'aria comburente deve essere regolato in funzione della temperatura dell'aria comburente.


Avendo nel nuovo modello eliminato il tubo del comburente separato ed optato per i due tubi coassiali, hanno dovuto sviluppare un sistema che consente di modulare la portata dell'aria comburente in funzione della temperatura. Immagino che questo abbia anche consentito di eliminare il vecchio kit alta quota non essendo più necessario variare anche la portata di combustibile.

"non è che la D che viene venduta ora con il vecchio scarico della GPL è per non incorrere nel brevetto?"

In realtà il brevetto è sempre loro quindi non credo che ci siano vantaggi da questo punto di vista


Mauro

Modificato da Mauro1977 il 31/05/2023 alle 17:12:09
Giuliopgn
Giuliopgn
-
Rispondi Abuso
Inserito il 31/05/2023 alle: 17:52:03

Un tubo di scarico 1 che funge da condotto per i gas di scarico è circondato alla periferia da un condotto 2 per l'aria.
Lo scarico è sempre interno al tubo di immissione, sono sempre coassiali come quella a GPL.
Appunto, che quella venduta ora con lo scarico vecchio non sia Truma.
Giuliopgn
Sala Silvergruva, la miniera d'argento
Sala Silvergruva, la miniera d'argento
Folgaria d’inverno in camper
Folgaria d’inverno in camper
Francia 2025
Francia 2025
Eksjo, la città di legno
Eksjo, la città di legno
Viaggio in Umbria e dintorni
Viaggio in Umbria e dintorni
Previous Next
Mauro1977
Mauro1977
17/01/2022 477
Rispondi Abuso
Inserito il 01/06/2023 alle: 09:11:31
In risposta al messaggio di Giuliopgn del 31/05/2023 alle 17:52:03

Un tubo di scarico 1 che funge da condotto per i gas di scarico è circondato alla periferia da un condotto 2 per l'aria. Lo scarico è sempre interno al tubo di immissione, sono sempre coassiali come quella a GPL. Appunto, che quella venduta ora con lo scarico vecchio non sia Truma.
Il precedente modello a gasolio (per intenderci quella con lo scarico a parete di forma rettangolare) non ha "scarico e immissione aria comburente" coassiali

Mauro
Giuliopgn
Giuliopgn
-
Rispondi Abuso
Inserito il 01/06/2023 alle: 11:13:27

Cos'è quindi il tubo 1 coassiale al tubo 2 della figura 4?
Giuliopgn
5
Lebowski
Lebowski
02/02/2021 1542
Rispondi Abuso
Inserito il 01/06/2023 alle: 11:24:13
In risposta al messaggio di Mauro1977 del 01/06/2023 alle 09:11:31

Il precedente modello a gasolio (per intenderci quella con lo scarico a parete di forma rettangolare) non ha scarico e immissione aria comburente coassiali Mauro
Anche se l'immissione ha un tubo separato, lo scarico è coassiale, il perché non lo so.

Edit: oops, vedo che lo avevi spiegato qualche messaggio fa.
Bon cop de falç!

Modificato da Lebowski il 01/06/2023 alle 11:26:39
Mauro1977
Mauro1977
17/01/2022 477
Rispondi Abuso
Inserito il 01/06/2023 alle: 11:33:12
In risposta al messaggio di Giuliopgn del 01/06/2023 alle 11:13:27

Cos'è quindi il tubo 1 coassiale al tubo 2 della figura 4?

"Cos'è quindi il tubo 1 coassiale al tubo 2 della figura 4?"

Il tubo 1 è il condotto di scarico vero e proprio mentre il tubo 2 è quello dedicato ad un flusso di aria con direzione Stufa --> Esterno che assicura l'allontanamento di eventuali perdite dai raccordi/condotto 1 (è proprio questo l'aspetto interessante)

Il tubo di ingresso dell'aria comburente è il numero 11 della figura 4. In questo caso la direzione del flusso di aria è Esterno --> Stufa

Mauro
Mauro1977
Mauro1977
17/01/2022 477
Rispondi Abuso
Inserito il 01/06/2023 alle: 11:33:46
In risposta al messaggio di Lebowski del 01/06/2023 alle 11:24:13

Anche se l'immissione ha un tubo separato, lo scarico è coassiale, il perché non lo so. Edit: oops, vedo che lo avevi spiegato qualche messaggio fa.
winkyes

Mauro
Giuliopgn
Giuliopgn
-
Rispondi Abuso
Inserito il 01/06/2023 alle: 11:42:23

Da quello che ho capito, avevano hanno mantenuto lo scarico interno e coassiale all'aspirazione, ma l'aspirazione l'hanno forzata dalla ventola laterale tangenziale per creare una sovrapressione atta ad impedire il ritorno dei fumi di scarico nell'aspirazione (per evitare spegnimenti, questo lo dicono)
Hanno quindi mantenuto il tubo di scarico interno per recuperare il calore in controcorrente dei fumi, ma hanno poi spostato la bocca terminale di aspirazione lateralmente.

"Il raccordo di afflusso 11 fa quindi parte di un condotto dell'aria comburente che è previsto in aggiunta al condotto 2 dell'aria."
Giuliopgn

Modificato da Giuliopgn il 01/06/2023 alle 11:45:09
Mauro1977
Mauro1977
17/01/2022 477
Rispondi Abuso
Inserito il 01/06/2023 alle: 11:50:49
In risposta al messaggio di Giuliopgn del 01/06/2023 alle 11:42:23

Da quello che ho capito, avevano hanno mantenuto lo scarico interno e coassiale all'aspirazione, ma l'aspirazione l'hanno forzata dalla ventola laterale tangenziale per creare una sovrapressione atta ad impedire il ritorno
dei fumi di scarico nell'aspirazione (per evitare spegnimenti, questo lo dicono) Hanno quindi mantenuto il tubo di scarico interno per recuperare il calore in controcorrente dei fumi, ma hanno poi spostato la bocca terminale di aspirazione lateralmente. Il raccordo di afflusso 11 fa quindi parte di un condotto dell'aria comburente che è previsto in aggiunta al condotto 2 dell'aria.
...
[0057] 
Il raccordo di afflusso 11 fa quindi parte di un condotto dell'aria comburente che è previsto in aggiunta al condotto 2 dell'aria.  
Mentre l'aria nel condotto dell'aria 2 fluisce verso l'ambiente circostante, l'aria nel condotto dell'aria comburente, non rappresentata in dettaglio nelle figure, fluisce dall'ambiente all'interno. 


la seconda frase chiarisce meglio la prima ed in particolare la direzione dei flussi d'aria (e quindi il ruolo) wink

Mauro
Argomenti recenti dal forum
Cellula abitativa
Moquette ed - eventualmente - tappezziere
Ciao a tutti, ho cercato ma le ultime discussioni risalgono al 2020 ...
atomant
Oggi alle 12:20
Meccanica
Parasassi - Locaro passaruota Ducato 2026
Buongiorno a tutti, Sono nuovo dell'ambiente, ma sono molto felice d...
RollingLedger
Oggi alle 09:57
Accessori
CBE CSB2 sempre acceso + info su reg.carica
CIao a tutti, ho una Adriatik 572 del 2005 con centralina EBL 208 S ...
dav8989
Oggi alle 07:41
Accessori
Waeco cruiscontroll Ms 900
Chi lo ha montato su ducato 3000cc del 2010 mi spiega come funziona ...
flavius67
Ieri alle: 21:12
Accessori
Impianto 13 poli gancio traino schema
Ciao a tutti, Dubito di risolvere, ma la community qui é numerosa e ...
maaaxxx
Ieri alle: 18:27
Meccanica
Un aiutino da casa x Crossclimate
Mi sono un po perso sulle pressioni corrette , il mezzo è su Ducato ...
dadamazz
Ieri alle: 18:05
Aree di sosta e campeggi
Area sosta sul lago di Barcis
Ciao a tutti , qualcuno è stato a Pasqua nell'area sosta camper a Ba...
diabolik
Ieri alle: 16:14
Accessori
Interpretare smartshunt
Buongiorno, nel cammin di mezza via . . . Mi ritrovo con 2 BS 110AH ...
isauri
Ieri alle: 15:21
Accessori
monitoraggio pressione pneumatici
Buongiorno a tutti, volevo chiedere se qualcuno ha montato un TPMS d...
Walter62
Ieri alle: 14:11
Aree di sosta e campeggi
Area sosta a primaluna Lecco
Buongiorno chiedo x piacere,,qualcuno e stato recentemente all,area ...
giuvanella
Ieri alle: 13:26
Cellula abitativa
Cavi dietro sedile lato passeggero ducato 244
Buongiorno a tutti, sul mio ducato 244 esce dietro il sedile una lin...
CamperistaPN
Ieri alle: 08:55
Meccanica
Arca america 2024
Buonasera a tutti, vorrei capire se il camper in oggetto può già ave...
Adocaro
14/03/26 - 19:14
Cellula abitativa
motorhome hymer 2003 non carica bs
Buongiorno a tutti, ho un problema e spero nel Vostro aiuto. Attacc...
salva56
14/03/26 - 14:29
Viaggi in Italia
Ciclabili Verona est
Abbiamo letto la pagina web dell'agricamping Oro verde a Verona. Sap...
rlui
14/03/26 - 14:28
Accessori
Installazione retrocamera posteriore
Ciao a tutti, ho acquistato un Krunia Schermo Portatile 8'' per Appl...
Karbon17
14/03/26 - 10:10
Giuliopgn
Giuliopgn
-
Rispondi Abuso
Inserito il 01/06/2023 alle: 11:52:44

E io cosa ho detto?!? Leggi meglio quello che ho scritto.
Il tubo di scarico è coassiale a quello dell'aria in ingresso, nella parte terminale della bocchetta no, viene forzata dalla ventola.
Basta guardare bene il disegno per capirlowink

Il tuo quesito era :"Domanda: perché Truma utilizzava un tubo coassiale per lo scarico dei fumi?"
Io ti ho risposto riguardo al tubo coassiale, non alla bocchetta d'uscita.
Giuliopgn

Modificato da Giuliopgn il 01/06/2023 alle 12:06:45
Mauro1977
Mauro1977
17/01/2022 477
Rispondi Abuso
Inserito il 01/06/2023 alle: 12:08:46
In risposta al messaggio di Giuliopgn del 01/06/2023 alle 11:52:44

E io cosa ho detto?!? Leggi meglio quello che ho scritto. Il tubo di scarico è coassiale a quello dell'aria in ingresso, nella parte terminale della bocchetta no, viene forzata dalla ventola. Basta guardare bene il disegno
per capirlo Il tuo quesito era :Domanda: perché Truma utilizzava un tubo coassiale per lo scarico dei fumi? Io ti ho risposto riguardo al tubo coassiale, non alla bocchetta d'uscita.
...
[0041] 
Un tubo di scarico 1 che funge da condotto per i gas di scarico è circondato alla periferia da un condotto 2 per l'aria.  
Il condotto dell'aria 2 è suddiviso in una sezione a pressione negativa 2a e una sezione a pressione positiva 2b.  
La sezione di pressione negativa 2a e la sezione di pressione positiva 2b circondano il tubo di scarico 1 sulla circonferenza.  
Tra la sezione a pressione negativa 2a e la sezione a pressione positiva 2b è disposto un ventilatore radiale 3 che funge da dispositivo di ventilazione, che aspira aria dalla sezione a pressione negativa 2a e la forza nella sezione a pressione positiva 2b.  
Di conseguenza, nel condotto dell'aria viene creato un flusso d'aria con direzione di flusso A (vedere freccia). 


[0047] 
Va osservato che, in particolare durante l'avvio del dispositivo di riscaldamento, i gas di scarico possono fuoriuscire in vari punti del dispositivo di riscaldamento a causa di picchi di pressione e causare danni all'interno.  
Di conseguenza, è necessario garantire che tutti i giunti di tenuta, i giunti di separazione, le aperture, ecc., attraverso i quali i gas di scarico possono fuoriuscire in modo incontrollato in caso di una corrispondente sovrapressione nel sistema, siano circondati dalla sezione di pressione negativa 2a o siano collegati al flusso con esso.  
In questo modo, i gas di scarico indesiderati che fuoriescono dal condotto di scarico 1 e da altre unità vengono aspirati attraverso la sezione a pressione negativa 2a per effetto dell'azione del ventilatore radiale 3 ed infine espulsi nell'ambiente circostante attraverso la sezione a pressione positiva 2b. 


il flusso d'aria nel condotto 2 ha la direzione A di figura 1 e di figura 2 quindi dalla stufa verso l'ambiente esterno. La ventola crea una pressione negativa 2a (dalla stufa fino alla ventola) e pertanto aspira eventuali perdite e le rilascia nell'ambiente esterno grazie alla pressione positiva 2b che si genera a valle della ventola.

Mauro
Giuliopgn
Giuliopgn
-
Rispondi Abuso
Inserito il 01/06/2023 alle: 12:13:07

Bene, il tubo di scarico, non la bocchetta, non è secondo te coassiale all'aspirazione?
Quindi sulla Truma dove entra l'aria comburente?
Giuliopgn
5
Lebowski
Lebowski
02/02/2021 1542
Rispondi Abuso
Inserito il 01/06/2023 alle: 12:15:42
Riassumendo:
  • la truma a gas ha il tubo coassiale per l'aspirazione (camicia esterna) e lo scarico (tubo interno), come una qualsiasi caldaia casalinga.
  • la (vecchia) truma diesel ha l'aspirazione separata e la camicia esterna ha solo una funzione di sicurezza (scaricare all'esterno eventuali fughe e ridurre la temperatura allo scarico), questo è quello che dice il brevetto.
  • la (nuova) truma diesel usa lo stesso sistema della truma a gas e della copia diesel cinese
Forse tanta sicurezza non era poi così necessaria: in caso di perdite i gas di scarico verrebbero comunque aspirati verso la stufa, provocadone l'eventuale spegnimento ma senza immetterli nella cellula.
Poi a loro costa meno e guadagnano di più...almeno fino a quando la copia cinese (che costa la metà) abbia l'omologazione europea.
Bon cop de falç!

Modificato da Lebowski il 01/06/2023 alle 12:16:07
Mauro1977
Mauro1977
17/01/2022 477
Rispondi Abuso
Inserito il 01/06/2023 alle: 12:21:22
In risposta al messaggio di Giuliopgn del 01/06/2023 alle 12:13:07

Bene, il tubo di scarico, non la bocchetta, non è secondo te coassiale all'aspirazione? Quindi sulla Truma dove entra l'aria comburente?
"Quindi sulla Truma dove entra l'aria comburente?"

L'aria comburente entra dal raccordo 11 di figura 4
Schermata%202023-05-31%20alle%2011_45_51(1).png

Lo stesso raccordo 11 è collegato attraverso un tubo dedicato al''ingresso della stufa evidenziato in giallo nella immagine seguente:

Schermata%202023-06-01%20alle%2012_19_21.png

Che io sappia (ma potrei sbagliarmi) l'ingresso evidenziato in giallo nella precedente immagine non è più presente nel nuovo modello di stufa a gasolio 

Mauro
 
Giuliopgn
Giuliopgn
-
Rispondi Abuso
Inserito il 01/06/2023 alle: 12:21:33

Ok, se c'è un altro tubo di aspirazione, non coassiale, hanno fatto sto cinema di brevetto perdendo il recupero di calore dello scarico, questo per evitare perdite verso l'interno, ora lo hanno eliminato e la Truma D nuova puzza...
Era meglio quello che avevo pensato io, tubi coassiali ed aria forzata nell'anello esterno tra i tubi, in modo da impedire ingresso dallo scarico.
Giuliopgn

Modificato da Giuliopgn il 01/06/2023 alle 12:29:05
7
Hunter85
Hunter85
15/06/2018 11024
Rispondi Abuso
Inserito il 01/06/2023 alle: 14:29:55
In risposta al messaggio di IZ4DJI del 29/05/2023 alle 21:11:48

Non è normale odore di gasolio o di combustione all interno del camper se è installata come si deve. Farei controllare bene i collegamenti del tubo del camino, che sia tutto montato bene e che non abbia perdite, che potrebbe
anche essere pericoloso per la salute. Se il camino è rimasto nella stessa posizione di fabbrica, escluderei rientro del gas di  scarico da prese d'aria. Per avere un ambiente salubre, e senza condensa ne aria troppo secca, tengo sempre aperti gli oblo un dito, tantopiu in inverno quando va la stufa. Si crea un effetto camino che fa uscire l aria calda e stagnante verso l alto e quindi poi rientra dalle prese d'aria aria fresca e ben respirabile, con continuo ricambio. Tanto con 6Kw si sta in maglietta anche con -20° e oblo in fessura. Se lascio tutto chiuso mi si tappa il naso e non riesco a dormire ne a permanere anche di giorno. Si dirà che si spreca gasolio, ma chi se ne frega, mica è il gas che è in quantità limitate e difficile da trovare all estero, il gasolio è in quantità praticamente infinita e facilmente rifornibile.
...
Allora non è solo la mia vecchia Truma gas 3kw che mi secca le mucose...la mattina appena sveglio mi brucia naso e gola..a volte anche un po' di sangue nelle narici.

Ho iniziato a mettere uno straccio bagnato sopra e un bicchiere di acqua..
In un mondo dove il male è di casa e ha vinto sempre, Dove regna il capitale, oggi più spietatamente, Riusciranno questo brocco e questo inutile scudiero Al Potere dare scacco e salvare il mondo intero?
19
IZ4DJI
IZ4DJI
rating

12/11/2006 58356
Rispondi Abuso
Inserito il 01/06/2023 alle: 17:44:44
In risposta al messaggio di Hunter85 del 01/06/2023 alle 14:29:55

Allora non è solo la mia vecchia Truma gas 3kw che mi secca le mucose...la mattina appena sveglio mi brucia naso e gola..a volte anche un po' di sangue nelle narici. Ho iniziato a mettere uno straccio bagnato sopra e un bicchiere di acqua..
Tutti i riscaldamenti ad aria fanno così. La cosa migliore è tenere aperti gli oblo così da avere costante ricambio di aria, ma puo non bastare, anch'io ho le mucose delicate (anche allergico ai pollini, polvere e tanto altro) e quindi la sera prima di andare a dormire e la mattina appena alzato uso spray nasale tipo acqua di mare, altrimenti sempre naso chiuso, sangue e croste, un tormento.
A casa ho la stufa a pellet, quindi riscaldamento a aria, e anche li non sono messo meglio.
Ma mi sa che il problema è in naso, non tanto o solo il riscaldamento, visto che mia moglie sta benissimo....e si lamenta che russo come un caterpillar ingolfato laugh.
____________________________________

Tommaso IZ4DJI

www.iz4dji.it




7
Hunter85
Hunter85
15/06/2018 11024
Rispondi Abuso
Inserito il 01/06/2023 alle: 18:45:42
In risposta al messaggio di IZ4DJI del 01/06/2023 alle 17:44:44

Tutti i riscaldamenti ad aria fanno così. La cosa migliore è tenere aperti gli oblo così da avere costante ricambio di aria, ma puo non bastare, anch'io ho le mucose delicate (anche allergico ai pollini, polvere e tanto
altro) e quindi la sera prima di andare a dormire e la mattina appena alzato uso spray nasale tipo acqua di mare, altrimenti sempre naso chiuso, sangue e croste, un tormento. A casa ho la stufa a pellet, quindi riscaldamento a aria, e anche li non sono messo meglio. Ma mi sa che il problema è in naso, non tanto o solo il riscaldamento, visto che mia moglie sta benissimo....e si lamenta che russo come un caterpillar ingolfato .
...
Facilmente dipende dai soggetti.. infatti la mia (ex) compagna non aveva la gola che gli bruciava come me con la Truma.
comunque aprire un po' aiuta. E forse anche lo straccio bagnato...
Il fatto è che la mia truma senza ventilazione diventa rovente, ma con ventilazione è tipeida-calda, quindi non so quanta acqua faccia evaporare messa sopra..
Senza ventilazione non si deve usare...
In un mondo dove il male è di casa e ha vinto sempre, Dove regna il capitale, oggi più spietatamente, Riusciranno questo brocco e questo inutile scudiero Al Potere dare scacco e salvare il mondo intero?
SostaGruppiCompagniItaliaEsteroMarchiMeccanicaCellulaAccessoriEventiLeggiComportamentiDisabiliIn camper perAltro CamperAltroExtra
167k Facebook
343k Instagram
42,6k TikTok
73,3k Youtube
CamperOnLine - Copyright © 1998-2026 - P.Iva 06953990014
Informativa privacy
Loading...

Accedi

Recupera Password
Nuovo utente

Vuoi eliminare il messaggio?

Sottoscrizione

Anteprima

PREFERENZA

Il messaggio è in fase di inserimento.

loading

CamperOnLine

Buongiorno gentile utente,

da oltre 20 anni Camperonline offre gratuitamente tutti i suoi servizi
grazie agli inserzionisti che ci hanno dato la loro fiducia, permettici di continuare il nostro lavoro disattivando il blocco delle pubblicità.

Grazie della collaborazione.

Azione eseguita con successo

Azione Fallita

Condividi

Condividi questa pagina con:

O copia il link