In risposta al messaggio di luksich del 24/07/2023 alle 09:39:12
Giovanni, come dicevo in un precedente post (quando ho smontato e innaffiato di disossidante la centralina), non ho capito dove si trova quell'infingardo stecchino di plastica che trasmette il moto alla manopola di regolazionedella temperatura al trimmer etc. Lo chiedo nuovamente perchè dopo il mio intervento di quel giorno il frigo pare tornato agli antichi fasti (l'ho tenuto cinque giorni acceso a gas e non ha avuto cedimenti), ma non mi spiego perchè le ultime 24 h (tra il 20 e il 21 luglio nei grafici), a parità o quasi di temperatura ambiente, una volta spostata la regolazione da 5 a 1 (da max a min) ha reso addirittura meglio.
In risposta al messaggio di Giovanni del 24/07/2023 alle 11:54:35Giovanni, io non ho manopole. Il pannello di comando è questo. Evidentemente il tuo modello di frigo è diverso dal mio (RMD 8555 AES)
Come ho scritto, per verificare la funzionalità di quel maledetto stecchino di plastica, prova a ruotare lentissimamente la manopola che regola la potenza. Se non incontri la pur minima resistenza, quello è rotto. La migliore posizione resta sempre tra metà e due terzi della potenza. Giovanni

In risposta al messaggio di luksich del 24/07/2023 alle 18:36:38
Giovanni, io non ho manopole. Il pannello di comando è questo. Evidentemente il tuo modello di frigo è diverso dal mio (RMD 8555 AES)
In risposta al messaggio di franco49tn del 20/07/2023 alle 10:57:25OK per il deflettore griglia superiore. Ma il divisorio di separazione tra scarico e parte refrigerante riesco a farlo scendere al massimo a toccare la parte superiore del tubo in uscita dal riscaldatore che esce trasversalmente verso il condensatore (al disotto di quel tubo non saprei proprio come passare a frigo montato). Potrebbe già così apportare vantaggi?
Non ho foto fatte dei pezzi Devi solo provare . prendere misure ed infilare questo divisorio più in basso possibile. Fissaggio , visto che vi è legno , anche solo due vitine . Il mio ha sopra una curva simile a questa che aiuta lo scarico . Fallo con un lamierino curvato in alto a convogliare il caldo all'esterno (non lasciare il vano squadrato)
In risposta al messaggio di Giovanni del 24/07/2023 alle 19:03:59Ma scherzi? Grazie a te!
Allora come non detto. Scusa se ti ho fatto perdere tempo. Giovanni
In risposta al messaggio di luksich del 24/07/2023 alle 19:10:56Metti quanto riesci a fare scendere
OK per il deflettore griglia superiore. Ma il divisorio di separazione tra scarico e parte refrigerante riesco a farlo scendere al massimo a toccare la parte superiore del tubo in uscita dal riscaldatore che esce trasversalmente verso il condensatore (al disotto di quel tubo non saprei proprio come passare a frigo montato). Potrebbe già così apportare vantaggi?
In risposta al messaggio di luksich del 28/06/2023 alle 14:22:35Ciao ho il tuo stesso problema...volevo sapere se alla fine hai risolto e in che modo...grazie
Buongiorno a tutti. Frigo Dometic 8xx5 AES (commutazione automatica dell'alimentazione). Di punto in bianco smette di raffreddare a gas, pure con fiammella accesa. A 220 volt raffredda benissimo, sia congelatore che partefrigo. Premetto che quasi un anno fa (prima di questo guasto) avevo portato in officina specializzata (prov. Novara) il camper perchè l'allarme (bip bip) della porta suonava senza motivo apparente (pur funzionando e raffreddando il frigo): avevano diagnosticato un problema alla centralina, che però non avevano in casa ed era stata quindi procrastinata la sostituzione. Contestualmente (avevano 9 anni di vita) erano stati sostituiti i due regolatori gas delle rispettive bombole, lo scambiatore automatico della Truma e i due tubi ad alta pressione. Sta di fatto che dopo le sostituzioni il frigo non dava più allarme e funzionava correttamente. Per cui disdico la sostituzione della centralina. A distanza di qualche mese, non raffredda più a gas, anche tenendolo due giorni acceso, zero. Lo riporto in officina. Sostituiscono elettrovalvola e bruciatore, fanno pulizia del camino, lo provano (ma mi sorge il dubbio di come l'abbiano provato, magari solo a corrente...), il tecnico mi dichiara che durante la prova sia frigo che freezer raggiungono ottime temperature. Porto a casa, parto per le vacanze...ma il frigo raffredda davvero poco. Ultimo week-end, frigo acceso a gas per 48 ore consecutive, alla fine griglia freezer appena fresca, griglia frigo temperatura ambiente. Ultima controprova stamattina, allacciato a 220 volt, dopo 3 ore di funzionamento sia freezer che frigo già freddi. Per cui deduco che non lo devo buttare via! Totale: oltre 700 € spesi nell'ultimo anno senza risolvere nulla. Qualcuno ha qualche suggerimento? (e scusate se mi sono dilungato...). Grazie
In risposta al messaggio di luksich del 28/06/2023 alle 14:22:35Il mio vecchio elettrolux faceva la stessa cosa quest'estate. Smontato il briciatore, pulito, cambiato ugello...niente frigo sempre caldo. Siccome a me poche cose riescono a farmi incacchiare come bere birra calda...ho tentato il tutto per tutto ed ho smontato il camino di scarico. Appena aperto sono cadute 4 cimici carbonizzate che chiudevano l'uscita dei fumi. Ho approfittato e tolto e pulito lo swirl e il camino con uno scovolino. C'erano 27 gradi...Acceso a gas dopo un'ora avevo circa meno 18 nella cella freezer...
Buongiorno a tutti. Frigo Dometic 8xx5 AES (commutazione automatica dell'alimentazione). Di punto in bianco smette di raffreddare a gas, pure con fiammella accesa. A 220 volt raffredda benissimo, sia congelatore che partefrigo. Premetto che quasi un anno fa (prima di questo guasto) avevo portato in officina specializzata (prov. Novara) il camper perchè l'allarme (bip bip) della porta suonava senza motivo apparente (pur funzionando e raffreddando il frigo): avevano diagnosticato un problema alla centralina, che però non avevano in casa ed era stata quindi procrastinata la sostituzione. Contestualmente (avevano 9 anni di vita) erano stati sostituiti i due regolatori gas delle rispettive bombole, lo scambiatore automatico della Truma e i due tubi ad alta pressione. Sta di fatto che dopo le sostituzioni il frigo non dava più allarme e funzionava correttamente. Per cui disdico la sostituzione della centralina. A distanza di qualche mese, non raffredda più a gas, anche tenendolo due giorni acceso, zero. Lo riporto in officina. Sostituiscono elettrovalvola e bruciatore, fanno pulizia del camino, lo provano (ma mi sorge il dubbio di come l'abbiano provato, magari solo a corrente...), il tecnico mi dichiara che durante la prova sia frigo che freezer raggiungono ottime temperature. Porto a casa, parto per le vacanze...ma il frigo raffredda davvero poco. Ultimo week-end, frigo acceso a gas per 48 ore consecutive, alla fine griglia freezer appena fresca, griglia frigo temperatura ambiente. Ultima controprova stamattina, allacciato a 220 volt, dopo 3 ore di funzionamento sia freezer che frigo già freddi. Per cui deduco che non lo devo buttare via! Totale: oltre 700 € spesi nell'ultimo anno senza risolvere nulla. Qualcuno ha qualche suggerimento? (e scusate se mi sono dilungato...). Grazie
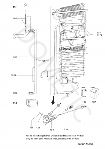
In risposta al messaggio di luksich del 28/06/2023 alle 14:22:35Ciao a tutti, scusate se riprendo una discussione già vecchia di qualche anno ma ho lo stesso problema con il mio frigo RM 7605 L che funziona perfettamente con la corrente (220 e 12v) ma non va raffredda con il gas a fiammella accesa. Bruciatore e elettrovalvola e regolatore di pressione sono nuovi ed ho fatto pulire l'impianto poco tempo fa. Il frigo è andato 3 giorni è poi ha smesso di raffreddare. Ho pensato di pulire la canna fumaria ed ho constatato che nel camino manca l'elica a spirale e mi chiedo, è prevista la sua presenza in questo tipo di frigo? Ho un trovato uno schema in rete (che dovrebbe essere del mio frigo) che mi fa pensare di si (parte 102). Può essere questo i problema? Vi chiedo gentilmente di aiutarmi..
Buongiorno a tutti. Frigo Dometic 8xx5 AES (commutazione automatica dell'alimentazione). Di punto in bianco smette di raffreddare a gas, pure con fiammella accesa. A 220 volt raffredda benissimo, sia congelatore che partefrigo. Premetto che quasi un anno fa (prima di questo guasto) avevo portato in officina specializzata (prov. Novara) il camper perchè l'allarme (bip bip) della porta suonava senza motivo apparente (pur funzionando e raffreddando il frigo): avevano diagnosticato un problema alla centralina, che però non avevano in casa ed era stata quindi procrastinata la sostituzione. Contestualmente (avevano 9 anni di vita) erano stati sostituiti i due regolatori gas delle rispettive bombole, lo scambiatore automatico della Truma e i due tubi ad alta pressione. Sta di fatto che dopo le sostituzioni il frigo non dava più allarme e funzionava correttamente. Per cui disdico la sostituzione della centralina. A distanza di qualche mese, non raffredda più a gas, anche tenendolo due giorni acceso, zero. Lo riporto in officina. Sostituiscono elettrovalvola e bruciatore, fanno pulizia del camino, lo provano (ma mi sorge il dubbio di come l'abbiano provato, magari solo a corrente...), il tecnico mi dichiara che durante la prova sia frigo che freezer raggiungono ottime temperature. Porto a casa, parto per le vacanze...ma il frigo raffredda davvero poco. Ultimo week-end, frigo acceso a gas per 48 ore consecutive, alla fine griglia freezer appena fresca, griglia frigo temperatura ambiente. Ultima controprova stamattina, allacciato a 220 volt, dopo 3 ore di funzionamento sia freezer che frigo già freddi. Per cui deduco che non lo devo buttare via! Totale: oltre 700 € spesi nell'ultimo anno senza risolvere nulla. Qualcuno ha qualche suggerimento? (e scusate se mi sono dilungato...). Grazie
In risposta al messaggio di IlMago del 15/10/2025 alle 09:29:25
Ciao a tutti, scusate se riprendo una discussione già vecchia di qualche anno ma ho lo stesso problema con il mio frigo RM 7605 L che funziona perfettamente con la corrente (220 e 12v) ma non va raffredda con il gas a fiammellaaccesa. Bruciatore e elettrovalvola e regolatore di pressione sono nuovi ed ho fatto pulire l'impianto poco tempo fa. Il frigo è andato 3 giorni è poi ha smesso di raffreddare. Ho pensato di pulire la canna fumaria ed ho constatato che nel camino manca l'elica a spirale e mi chiedo, è prevista la sua presenza in questo tipo di frigo? Ho un trovato uno schema in rete (che dovrebbe essere del mio frigo) che mi fa pensare di si (parte 102). Può essere questo i problema? Vi chiedo gentilmente di aiutarmi..
In risposta al messaggio di Giovanni del 15/10/2025 alle 11:12:34Ciao Giovanni,
Che io sappia l'elicoidale all'interno del camino incide, anche se non in modo esagerato. Bisognerà vedere come è stata fatta la pulizia, se con una semplice soffiata d'aria compressa (che fa più male che bene), oppureè stato smontato l'ugello, pulito con sgrassatore, pulito il condotto ugello-bruciatore e, ovviamente, bruciatore e camino (questo per primo, nell'ordine di intervento). Poi c'è un problema che mi si verificava sempre: frigo a corrente 230 volt poi, partendo, a gas e dopo un giorno il rendimento calava per ugello leggermente sporco! Adesso sono anni che non alimento il frigo a 230v. Per quanto abbia cercato di capirne i motivi, questi mi sono rimasti ignoti; con quanti tecnici abbia parlato, anche preparati, tutti si sono fatti giustamente una risata. Non ci sarebbe alcun nesso tecnico e nemmeno logico. Salvo un carissimo amico camperista di vecchia data, ora passato a miglior vita, che aveva forse intuito il motivo. Ma mi resta sempre il dubbio: perché solo a me? Ho cercato di darmi una risposta e forse è che il mio trivalente gareggia con i frigo a compressore, anche in estate, facendosi battere solo sui tempi ma difendendosi bene sulle temperature interne. Quindi io pretendo il massimo dal mio trivalente mentre altri potrebbero accontentarsi di quello che passa il convento e vivere con temperature non ideali. Per questo motivo, forse forse, molti si lamentano del rendimento del trivalente. La sto buttando là e niente più. Giovanni
In risposta al messaggio di IlMago del 15/10/2025 alle 15:57:40
Ciao Giovanni, inizio con i ringraziamenti per continuare con l'intervento fatto: l'impianto compreso ugelli, termocoppia (sostituita) e tubi è stato fatto da personale il officina e quindi non so come sia stato eseguito,il camino l'ho pulito adesso io con lo scovolino e poi un panno ma probabilmente anche quello era stato già pulito perchè non esisteva fuliggine. La cosa che mi ha destato sospetto è stata l'assenza della spirale/ elica / distributore di fiamma o come dir si voglia. Ho chiamato l'officina stamane per chiedere se avessero smontato anche il camino e per disattenzione omesso di rimettere dentro l'elica. La persona non mi ha saputo rispondere perché non ha eseguito lui il lavoro e mi avrebbe richiamato (nessuna notizia fino ad ora). Ho sentito tecnico autorizzato Dometic e mi ha riferito che in assenza dell'elica il frigo a gas funziona malissimo anzi, addirittura, non funziona e che quindi questo potrebbe essere il problema. Di fatto quanto ho ritirato il mezzo dopo la pulizia di cui sopra il frigo ha funzionato per un giorno e poi la temperatura ha iniziato a salire fino a diventare temperatura ambiente. Da allora ho fatto diverse prove facendolo andare anche con una bombola nuova ed il risultato è stato sempre uguale, 220 e 12 funziona perfettamente, mentre a gas non fa scendere neppure di un grado la temperatura. La pulizia del circuito e la sostituzione della termovalvola, dei tubi del gas attaccati alle bombole e del regolatore sono state fatte dall'officina perchè la fiammella del bruciatore non si accendeva più (il tecnico dell'officina mi ha riferito che il motivo era da imputarsi al circuito sporco di sedimenti di olio). A questo punto mi procurerò l'elica la monterò e vedrò il risultato. Vi terrò aggiornati. Grazie ancora
In risposta al messaggio di Hecktor2 del 17/10/2025 alle 07:22:27La bevuta l'hai vinta facile
sul Marostica, quando ho avuto problemi di accensione a gas, ho smontato tutto, la spirale nel tubo non cera, io non l’ho messa visto che funzionava benissimo in tutte le combinazioni, credo non sia indispensabile